lemon-mirror:
Home >> Subaru >> 2004 >> Baja Base, Automatic >> Repair and Diagnosis >> Transmission >> Automatic Trans >> Automatic Transmission >> AT Main Case >> Assembly

AT Main Case: Assembly

  1. HIGH CLUTCH, REVERSE CLUTCH 
    1. Install seal rings and lip seal to high clutch piston and reverse clutch piston.
    2. Install high clutch piston to reverse clutch piston.
      Fig 1: Installing High Clutch Piston To Reverse Clutch Piston
      G00924309Courtesy of SUBARU OF AMERICA, INC.
    3. Install reverse clutch to high clutch drum.

      Align the groove on the reverse clutch piston with the groove on the high clutch drum during installation.

      Fig 2: Installing Reverse Clutch To High Clutch Drum
      G00924310Courtesy of SUBARU OF AMERICA, INC.
    4. Install spring retainer to high clutch piston.
      Fig 3: Installing Spring Retainer To High Clutch Piston
      G00924311Courtesy of SUBARU OF AMERICA, INC.
    5. Install ST to high clutch piston.

      ST 498437000 HIGH CLUTCH PISTON GUIDE

      Fig 4: Installing ST To High Clutch Piston
      G00924312Courtesy of SUBARU OF AMERICA, INC.
    6. Avoid folding the high clutch piston seal, when installing the cover to high clutch piston.
    7. Using ST1 and ST2, install snap ring.

      ST1 398673600 COMPRESSOR

      ST2 498627100 SEAT

      ST3 498437000 HIGH CLUTCH PISTON GUIDE

      Fig 5: Installing Snap Ring Using Special Tool
      G00924313Courtesy of SUBARU OF AMERICA, INC.
    8. Install the thickest driven plate to piston side, and then install the driven plate, drive plate, retaining plate to high clutch drum.
      Fig 6: Installing Driven Plate, Drive Plate & Retaining Plate To High Clutch Drum
      G00924314Courtesy of SUBARU OF AMERICA, INC.
    9. Install snap ring to high clutch drum.
    10. Apply compressed air intermittently to check for operation.
      Fig 7: Installing Snap Ring To High Clutch Drum
      G00924315Courtesy of SUBARU OF AMERICA, INC.
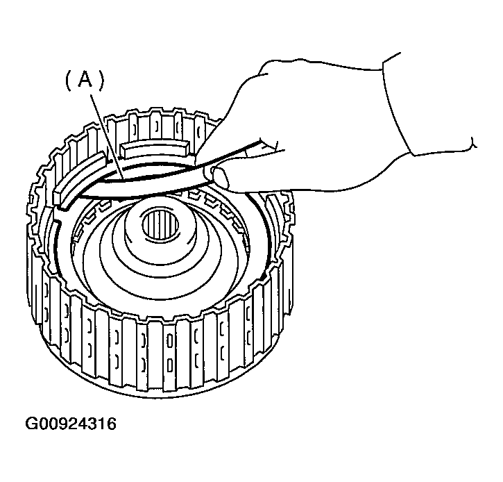
    11. Measure the clearance between the retaining plate and snap ring (High clutch). At this time, do not press down retaining plate.
      1. Standard value: 0.8 - 1.1 mm (0.031 - 0.043 in) 
      2. Allowable limit: 1.5 mm (0.059 in) 
      Fig 8: Measuring Clearance Between Retaining Plate & Snap Ring
      G00924316Courtesy of SUBARU OF AMERICA, INC.

      If specified tolerance limits are exceeded, select a suitable high clutch retaining plate.

      If the clearance is above the limit, replace the drive plate with new one and just so that the clearance becomes within the specified value.

      Fig 9: High Clutch Retaining Plate Specifications
      G00924317Courtesy of SUBARU OF AMERICA, INC.
    12. Install driven plate, drive plate, retaining plate and snap ring.
      Fig 10: Installing Driven Plate, Drive Plate, Retaining Plate & Snap Ring
      G00924318Courtesy of SUBARU OF AMERICA, INC.
    13. Apply compressed air intermittently to check for operation.
      Fig 11: Applying Compressed Air
      G00924319Courtesy of SUBARU OF AMERICA, INC.
    14. Measure the clearance between the retaining plate and snap ring (Reverse clutch). At this time, do not press down retaining plate.
      1. Standard value: 0.5 - 0.8 mm (0.020 - 0.031 in) 
      2. Allowable limit: 1.2 mm (0.047 in) 
      Fig 12: Measuring Clearance Between Retaining Plate & Snap Ring
      G00924320Courtesy of SUBARU OF AMERICA, INC.

      If specified tolerance limits are exceeded, select a suitable high clutch retaining plate.

      If the clearance is above the limit, replace the drive plate with new one, so that the clearance becomes within the specified value.

      Fig 13: Reverse Clutch Retaining Plate Specifications
      G00924321Courtesy of SUBARU OF AMERICA, INC.
  2. PLANETARY GEAR, LOW CLUTCH 
    1. Install new D-ring to low clutch piston.
    2. Fit the low clutch piston to the low clutch drum.
      Fig 14: Fitting Low Clutch Piston To Low Clutch Drum
      G00924322Courtesy of SUBARU OF AMERICA, INC.
    3. Install spring retainer to low clutch piston.
      Fig 15: Installing Spring Retainer To Low Clutch Piston
      G00924323Courtesy of SUBARU OF AMERICA, INC.
    4. Install ST to low clutch drum.

      ST 498437100 LOW CLUTCH PISTON GUIDE

      Fig 16: Installing ST To Low Clutch Drum
      G00924324Courtesy of SUBARU OF AMERICA, INC.
    5. Set the cover on the piston with a press using ST1 and ST2, and attach the snap ring. At this time, be careful not to fold cover seal during installation.

      ST1 498627100 SEAT

      ST2 398673600 COMPRESSOR

      ST3 498437100 LOW CLUTCH PISTON GUIDE

      Fig 17: Setting Cover On Piston Using Special Tool
      G00924325Courtesy of SUBARU OF AMERICA, INC.
    6. Install the dish plate, driven plates, drive plates, and retaining plate, and secure with the snap ring.
      Fig 18: Installing Dish Plate, Driven Plates, Drive Plates, Retaining Plate & Secure With Snap Ring
      G00924326Courtesy of SUBARU OF AMERICA, INC.
    7. Check the low clutch for operation.
      1. Remove one-way clutch. Refer to AT MAIN CASE .
      2. Set the one-way clutch inner race, and apply compressed air for checking.
        Fig 19: Setting One-Way Clutch Inner Race
        G00924327Courtesy of SUBARU OF AMERICA, INC.
    8. Checking low clutch clearance.
      1. Place the same thickness of shim on both sides to prevent retaining plate from tilting.
      2. Inspect clearance between retaining plate and operation of the low clutch.
      1. Standard value: 0.7 - 1.1 mm (0.028 - 0.043 in) 
      2. Allowable limit: 1.6 mm (0.063 in) 
      Fig 20: Checking Low Clutch Clearance
      G00924328Courtesy of SUBARU OF AMERICA, INC.

      If the clearance is out of the specified range, select a proper retaining plate so that the standard clearance can be obtained.

      If the clearance is above the limit, replace the drive plate with new one, so that the clearance becomes within the specified value.

      Fig 21: Retaining Plate Specifications
      G00924329Courtesy of SUBARU OF AMERICA, INC.
    9. Install washer to rear internal gear.
      Fig 22: Installing Washer To Rear Internal Gear
      G00924330Courtesy of SUBARU OF AMERICA, INC.
    10. Install rear internal gear.
      Fig 23: Installing Rear Internal Gear
      G00924331Courtesy of SUBARU OF AMERICA, INC.
    11. Install thrust needle bearing in the correct direction.
      Fig 24: Installing Thrust Needle Bearing In Correct Direction
      G00924332Courtesy of SUBARU OF AMERICA, INC.
    12. Install the washer by aligning protrusion of washer and hole of rear planetary carrier.
      Fig 25: Installing Washer By Aligning Protrusion Of Washer & Hole Of Rear Planetary Carrier
      G00924333Courtesy of SUBARU OF AMERICA, INC.
    13. Install rear planetary carrier to low clutch drum.
      Fig 26: Installing Rear Planetary Carrier To Low Clutch Drum
      G00924334Courtesy of SUBARU OF AMERICA, INC.
    14. Install thrust needle bearing in the correct direction.
      Fig 27: Installing Thrust Needle Bearing In Correct Direction
      G00924335Courtesy of SUBARU OF AMERICA, INC.
    15. Install the rear sun gear in proper direction.
      Fig 28: Installing Rear Sun Gear In Proper Direction
      G00924336Courtesy of SUBARU OF AMERICA, INC.
    16. Install the thrust needle bearing in proper direction.
      Fig 29: Installing Thrust Needle Bearing In Proper Direction
      G00924337Courtesy of SUBARU OF AMERICA, INC.
    17. Install front planetary carrier to low clutch drum.
      Fig 30: Installing Front Planetary Carrier To Low Clutch Drum
      G00924338Courtesy of SUBARU OF AMERICA, INC.
    18. Install snap ring to low clutch drum.
      Fig 31: Installing Snap Ring To Low Clutch Drum
      G00924339Courtesy of SUBARU OF AMERICA, INC.
    19. Install the needle bearing, and secure with the snap ring.
      Fig 32: Installing Needle Bearing
      G00924340Courtesy of SUBARU OF AMERICA, INC.
    20. Install the one-way clutch, one-way clutch inner race and plate, and secure with the snap ring.
    21. Set the inner race. Make sure that the forward clutch is free in the clockwise direction and locked in the counterclockwise direction, as viewed from the front of the vehicle.
      Fig 33: Installing One-Way Clutch, One-Way Clutch Inner Race & Plate
      G00924341Courtesy of SUBARU OF AMERICA, INC.
  3. 2-4 BRAKE 
    1. Install 2-4 brake piston to 2-4 brake piston retainer.
      Fig 34: Installing 2-4 Brake Piston To 2-4 Brake Piston Retainer
      G00924342Courtesy of SUBARU OF AMERICA, INC.
  4. ONE-WAY CLUTCH INNER RACE 
    1. Using a press and ST, install the needle bearing to the inner race.

      ST 398497701 SEAT

      Fig 35: Installing Needle Bearing To Inner Race Using Special Tool
      G00924343Courtesy of SUBARU OF AMERICA, INC.
    2. Apply vaseline to the groove of the inner race and to the seal ring.
    3. Install two seal rings to one-way clutch inner race.
      Fig 36: Installing Two Seal Rings To One-Way Clutch Inner Race
      G00924344Courtesy of SUBARU OF AMERICA, INC.
  5. ONE-WAY CLUTCH OUTER RACE 
    1. Install the needle bearing, and secure with the snap ring.
      Fig 37: Installing Needle Bearing
      G00924345Courtesy of SUBARU OF AMERICA, INC.
    2. Install the one-way clutch, one-way clutch inner race and plate, and secure with the snap ring.
    3. Set the inner race. Make sure that the forward clutch is free in the clockwise direction and locked in the counterclockwise direction, as viewed from the front of the vehicle.
      Fig 38: Installing One-Way Clutch, One-Way Clutch Inner Race & Plate
      G00924346Courtesy of SUBARU OF AMERICA, INC.