lemon-mirror:
Home >> Subaru >> 2004 >> Baja Base, Standard >> Repair and Diagnosis >> Brakes >> Traction Control >> Abs >> Front ABS Sensor >> Inspection >> Abs Sensor

Abs Sensor

  1. Check pole piece of ABS sensor for foreign particles or damage. If necessary, clean pole piece or replace ABS sensor.
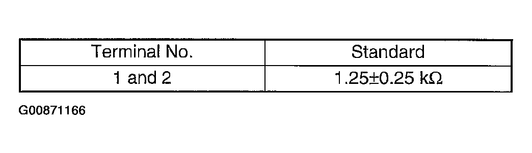
  2. Measure ABS sensor resistance.
    Fig 1: Measuring ABS Sensor Resistance
    G00871165Courtesy of SUBARU OF AMERICA, INC.
    Fig 2: Terminal Standard Specification
    G00871166Courtesy of SUBARU OF AMERICA, INC.
    CAUTION: If resistance is outside the standard value, replace ABS sensor with new one. 
    NOTE: Check ABS sensor cable for discontinuity. If necessary, replace with a new one.