lemon-mirror:
Home >> Subaru >> 2004 >> Forester X, Automatic >> Repair and Diagnosis >> Engine Performance >> Engine Control Systems >> Fuel Injection (Fuel Systems) (H4SO) >> Fuel Tank >> Installation

Fuel Tank: Installation

  1. Support the fuel tank with transmission jack and push the fuel tank harness into access hole with grommet.
  2. Set the fuel tank and temporarily tighten the bolts of fuel tank bands.
    WARNING: A helper is required to perform this work. 
    Fig 1: Pushing Fuel Tank Harness Into Access Hole With Grommet
    G00994895Courtesy of SUBARU OF AMERICA, INC.
  3. Connect the fuel filler hose (A) and air vent hose (B).
    Fig 2: Connecting Fuel Filler Hose & Air Vent Hose
    G00994896Courtesy of SUBARU OF AMERICA, INC.
  4. Connect the fuel hoses, and hold them with clips and quick connector. Refer to REMOVAL , Fuel Delivery, Return and Evaporation Lines.
    Fig 3: Connecting Fuel Hoses
    G00994897Courtesy of SUBARU OF AMERICA, INC.
  5. Connect the connector to the drain valve.
    Fig 4: Connecting Connector To Drain Valve
    G00994898Courtesy of SUBARU OF AMERICA, INC.
  6. Connect the connector to the pressure control solenoid valve.
  7. Connect the evaporation hose to the canister, and hold them clamp.
    Fig 5: Connecting Evaporation Hose To Canister
    G00994899Courtesy of SUBARU OF AMERICA, INC.
  8. Tighten the band mounting bolts.

    Tightening torque: 33 N.m (3.4 kgf-m, 25 ft-lb) 

    Fig 6: Tightening Band Mounting Bolts
    G00994900Courtesy of SUBARU OF AMERICA, INC.
  9. Install the rear crossmember. Refer to INSTALLATION , Rear Crossmember.
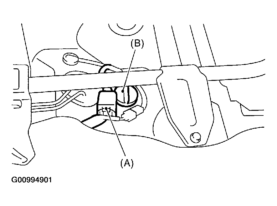
  10. Connect the connectors (A) to the fuel tank cord and plug the service hole with gromment (B).
    Fig 7: Connecting Connectors To Fuel Tank Cord & Plug Service Hole With Gromment
    G00994901Courtesy of SUBARU OF AMERICA, INC.
  11. Set the rear seat and floor mat.
  12. Connect the connector to the fuel pump relay.
    Fig 8: Connecting Connector To Fuel Pump Relay
    G00994902Courtesy of SUBARU OF AMERICA, INC.