lemon-mirror:
Home >> Subaru >> 2004 >> Forester XT, Automatic >> Repair and Diagnosis >> Brakes >> Traction Control >> Abs >> Front ABS Wheel Speed Sensor >> Inspection >> Sensor Gap

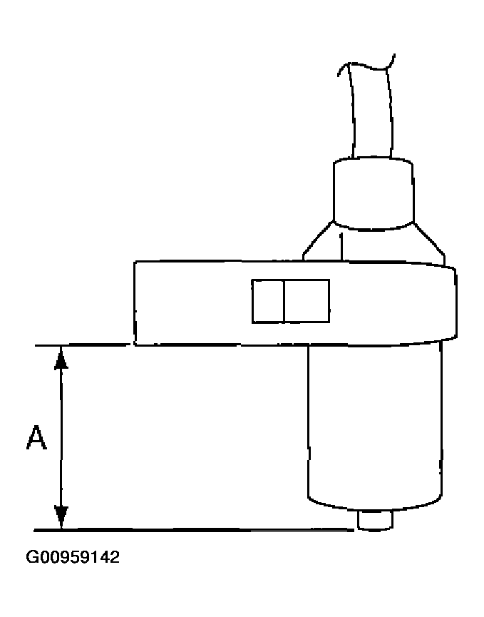
Sensor Gap

  1. Measure the distance "A" between ABS wheel speed sensor surface and sensor pole face.
    Fig 1: Measuring Distance "A" Between ABS Wheel Speed Sensor Surface And Sensor Pole Face
    G00959142Courtesy of SUBARU OF AMERICA, INC.
  2. Measure the distance "B" between surface where the front axle housing meets the ABS wheel speed sensor and the tone wheel.
    NOTE: Measure so that the gauge touches the tone wheel teeth top.
    Fig 2: Measuring Distance "B"
    G00959143Courtesy of SUBARU OF AMERICA, INC.
  3. Find the gap between the ABS wheel speed sensor pole piece and the surface of the tone wheel teeth by putting the measured values in the formula below and calculating.

    ABS wheel speed sensor clearance = B - A 

    ABS wheel speed sensor standard clearance: 

    0.3-0.8 mm (0.012-0.031 in) 

NOTE: If the clearance is outside specification, readjust using spacer (Part NO. 26755AA000).