lemon-mirror:
Home >> Subaru >> 2004 >> Forester XT, Automatic >> Repair and Diagnosis >> Engine Performance >> Engine Control Systems >> Fuel Injection (Fuel Systems) (H4DOTC) >> General Description >> Components >> Air Intake System

Air Intake System

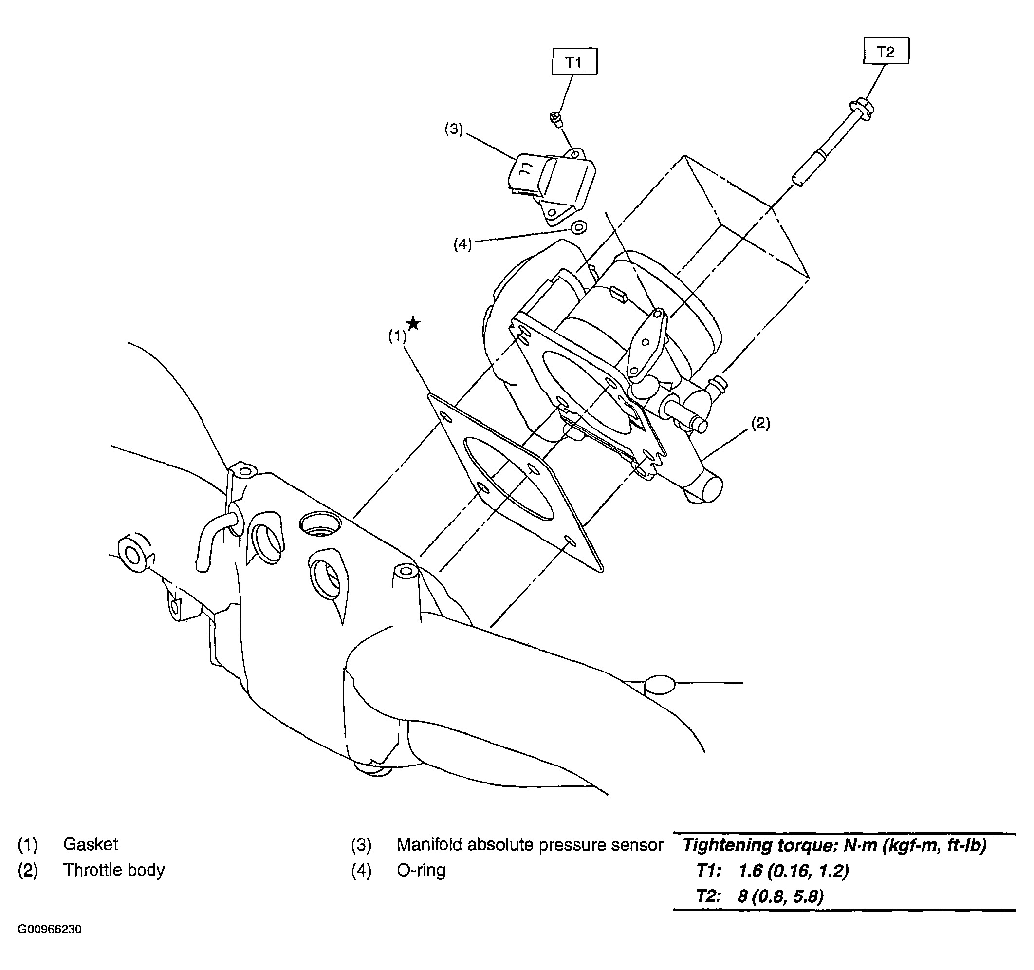
Fig 1: Air Intake System Replacement Components With Torque Specifications
G00966230Courtesy of SUBARU OF AMERICA, INC.