lemon-mirror:
Home >> Subaru >> 2004 >> Forester XT, Automatic >> Repair and Diagnosis >> Transmission >> Automatic Trans >> Automatic Transmission - Mechanism & Function >> Transmission Control Module (TCM) >> Shifting Control >> Non-Turbo Models

Non-Turbo Models

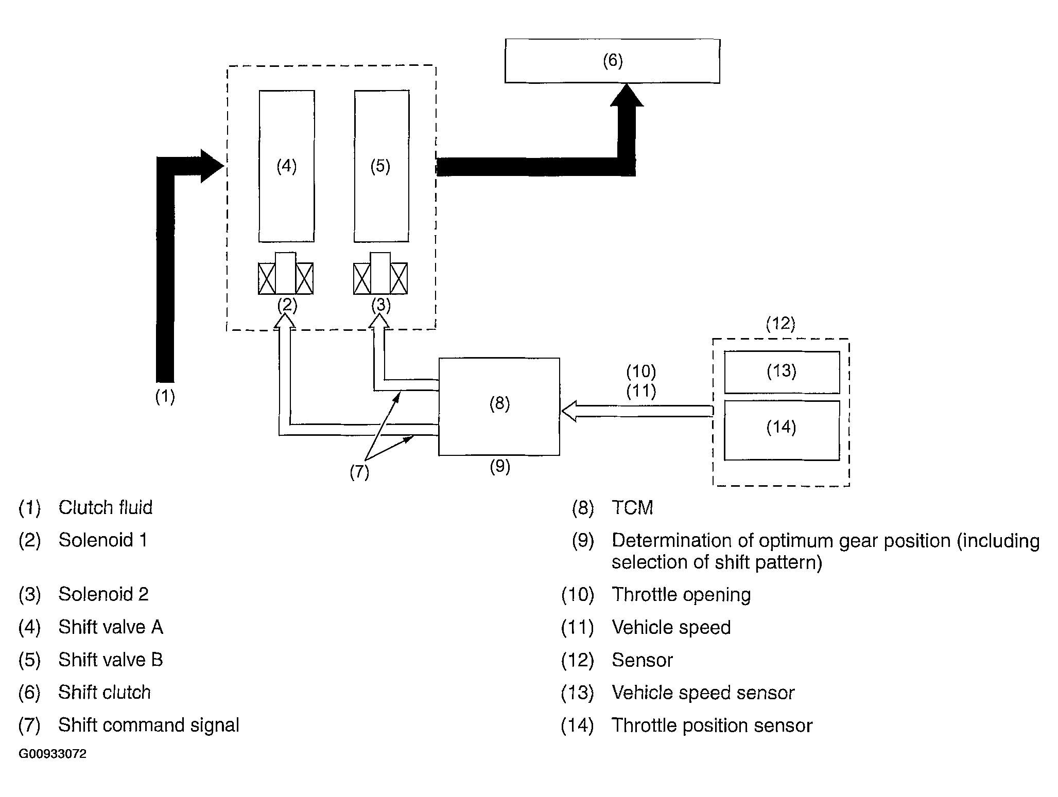
The TCM performs gear shifting control according to driving conditions by using the shift point characteristic data stored in its memory. Appropriate solenoids are operated at the proper timing corresponding to the shift pattern, throttle position, and vehicle speed for smooth shifting.

NOTE: When the ATF temperature is below approximately-10°C (-50°F), the gear cannot be shifted to 4th speed.
Fig 1: Shifting Control Chart - Non-Turbo Models (1 Of 2)
G00933071Courtesy of SUBARU OF AMERICA, INC.
Fig 2: Shifting Control Chart - Non-Turbo Models (2 Of 2)
G00933072Courtesy of SUBARU OF AMERICA, INC.