lemon-mirror:
Home >> Subaru >> 2005 >> Baja Base, Automatic >> Repair and Diagnosis >> Body & Frame >> Windows >> Glass/Window/Mirrors >> Windshield Glass >> Installation

Windshield Glass: Installation

  1. Clean external circumference of windshield glass with alcohol or white gasoline.
  2. Remove adhesive layer on the body using cutter knife to obtain smooth face 2 mm (0.08 in) thick.
    CAUTION: Be careful not to damage the body and paint surface.
    Fig 1: Removing Adhesive Layer On Body
    G03752357Courtesy of SUBARU OF AMERICA, INC.
  3. Clean body with alcohol or white gasoline to remove thoroughly chips, dusts, and dirts from body face.
  4. Place glass on body.
  5. Adjust glass position to make uniform clearance between body and glass in four corners.
  6. Place matching pins (A) and body on glass.
    Fig 2: Adjusting Glass Position To Make Uniform Clearance
    G03752358Courtesy of SUBARU OF AMERICA, INC.
  7. Remove glass from body.
  8. Fit molding mark (B) to notch (A) of ceramic print.
    Fig 3: Removing Glass From Body
    G03752359Courtesy of SUBARU OF AMERICA, INC.
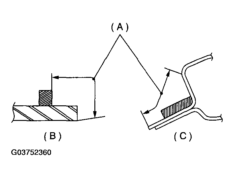
  9. Apply primer to adhesive layer (A) of glass (B) using sponge.
  10. Apply primer to adhesive layer (A) of body (C).
    CAUTION:
    • Primer once attached to the painted surface of the body and internal trim is hard to wipe off. Mask the circumference of such areas.
    • Let primer dry for about ten minutes before installing the glass.
    • Do not touch surface coated with primer.
      Fig 4: Applying Primer To Adhesive Layer
      G03752360Courtesy of SUBARU OF AMERICA, INC.
  11. Cut off cartridge nozzle tip and set it in sealant gun as shown in Fig 5.
    Fig 5: Cutting Cartridge Nozzle Tip
    G03752361Courtesy of SUBARU OF AMERICA, INC.
  12. Apply adhesive to glass end surface as shown in Fig 6.
  13. Fit matching pins using suction rubber cup to install windshield glass.
    Fig 6: Applying Adhesive To Glass End Surface
    G03752362Courtesy of SUBARU OF AMERICA, INC.
  14. Lightly press windshield glass for tight fit.
  15. Make adhesive surface flush using spatula.
    CAUTION:
    • When door is opened/closed after glass is bonded, always lower door glass and then open/close it carefully.
    • Move vehicle slowly.
  16. After completion of all work, allow vehicle to stand for about 24 hours.
    NOTE: For minimum drying time and time the vehicle must be left standing before driving after bonding, follow instructions or instruction manual from the adhesive manufacturer.
  17. After curing of adhesive, pour water on external surface of vehicle to check that there are no water leaks.
    CAUTION: When a vehicle is returned to the user, tell him or her that the vehicle should not be subjected to heavy impact for at least three days.
  18. Install cowl panel. < Ref. to INSTALLATION , Cowl Panel .>