lemon-mirror:
Home >> Subaru >> 2005 >> Baja Base, Automatic >> Repair and Diagnosis >> Suspension >> Wheel Alignment >> Front Suspension >> Front Strut >> Assembly

Front Strut: Assembly

  1. Before installing coil spring, strut mount, etc., on the strut, check for the presence of air in the dampening force generating mechanism of the strut since air prevents proper dampening force from being produced.
  2. Checking for the presence of air
    1. Place the strut vertically with the piston rod facing up.
    2. Move the piston rod to the center of its entire stroke.
    3. While holding the piston rod end with fingertips, move the rod up and down.
    4. If the piston rod moves at least 10 mm (0.39 in) in the former step, purge air from the strut.
  3. Air purging procedure
    1. Place the strut vertically with the piston rod facing up.
    2. Fully extend the piston rod.
    3. With the piston rod fully extended, place the piston rod side down. The strut must stand vertically.
    4. Fully contract the piston rod.
    5. Repeat 3 or 4 times from the first step.
      NOTE: After completely purging air from the strut, be sure to place the strut with the piston rod facing up. If it is laid down, check for entry of air in the strut as outlined under "Checking for the presence of air".
  4. Using a coil spring compressor, compress the coil spring.
    NOTE: Make sure that the vertical installing direction of coil spring is as shown in Fig 1 .
    Fig 1: Installing Coil Spring
    G03751278Courtesy of SUBARU OF AMERICA, INC.
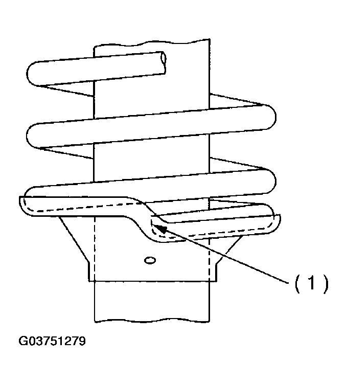
  5. Set the coil spring correctly so that its end face (1) fits well into the spring seat as shown in Fig 2 .
    Fig 2: Setting Coil Spring
    G03751279Courtesy of SUBARU OF AMERICA, INC.
  6. Install helper and dust cover to the piston rod.
  7. Pull the piston rod fully upward, and install rubber seat and upper spring seat.
    NOTE: Ensure that upper spring seat is positioned as shown in Fig 3 .
    Fig 3: Identifying Outside Of Body
    G03751280Courtesy of SUBARU OF AMERICA, INC.
  8. Install strut mount to the piston rod, and tighten the self-locking nut temporarily.
    CAUTION: Be sure to use a new self-locking nut.
  9. Using hexagon wrench to prevent strut rod from turning, tighten self-locking nut with ST.

    ST 927760000 STRUT MOUNT SOCKET

    Tightening torque: 

    55 N.m (5.6 kgf-m, 41 ft-lb) 

    Fig 4: Tightening Self-Locking Nut With Strut Mount Socket ST927760000
    G03751281Courtesy of SUBARU OF AMERICA, INC.
  10. Loosen the coil spring carefully.