lemon-mirror:
Home >> Subaru >> 2005 >> Forester X, Automatic >> Repair and Diagnosis >> Engine Performance >> Engine Control Systems >> Fuel Injection - Fuel Systems (H4SO) >> Fuel Tank >> Installation

Fuel Tank: Installation

  1. Support the fuel tank with a transmission jack and push the fuel tank harness into the access hole with the grommet.
  2. Set the fuel tank and temporarily tighten the bolts of fuel tank bands.
    WARNING: An assistant is required to perform this work.
    Fig 1: Installing Bolts
    G03805306Courtesy of SUBARU OF AMERICA, INC.
  3. Insert the fuel filler hose (A) approx. 35 to 40 mm (1.38 to 1.57 in) over the lower end of fuel filler pipe, and tighten the clamp.
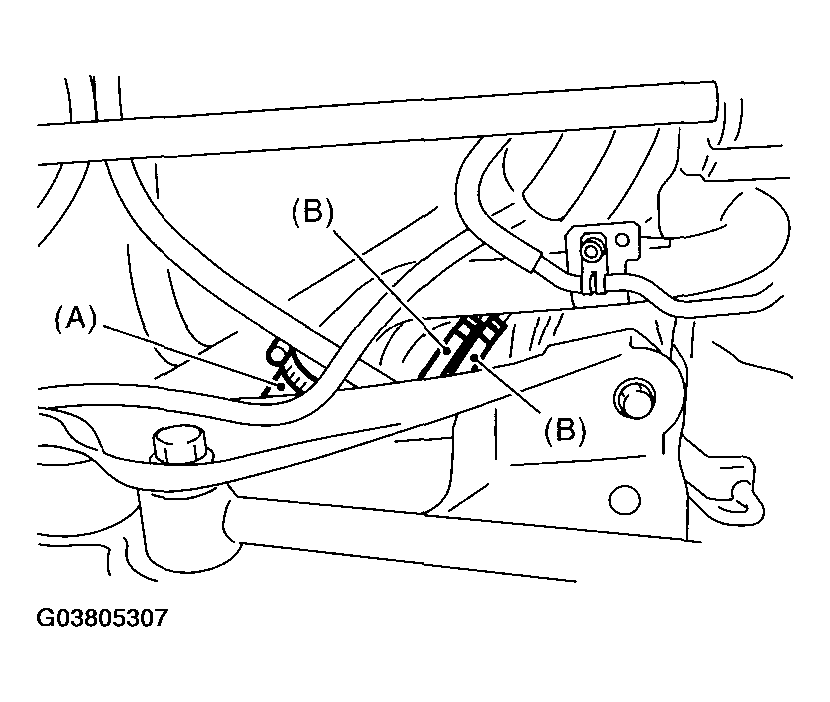
  4. Insert the evaporation hose (B) to the lower end of evaporation pipe, and hold the clamp and clip.
    Fig 2: Inserting Fuel Filler Hose And Evaporation Hose
    G03805307Courtesy of SUBARU OF AMERICA, INC.
    CAUTION: Do not allow clips to touch hose (A) and rear suspension crossmember.
    Fig 3: Identifying Fuel Filler Hose
    G03805308Courtesy of SUBARU OF AMERICA, INC.
  5. Connect the fuel hoses, and hold them with clips and quick connector. < Ref. to REMOVAL , Fuel Delivery, Return and Evaporation Lines. >
    Fig 4: Connecting Fuel Hoses
    G03805309Courtesy of SUBARU OF AMERICA, INC.
  6. Connect the connector to the pressure control solenoid valve.
  7. Install the canister. < Ref. to INSTALLATION , Canister. >
  8. Tighten the band mounting bolts.

    Tightening torque: 

    33 N.m (3.4 kgf-m, 25 ft-lb) 

    Fig 5: Tightening Band Mounting Bolts
    G03805310Courtesy of SUBARU OF AMERICA, INC.
  9. Install the rear crossmember. < Ref. to INSTALLATION , Rear Crossmember. >
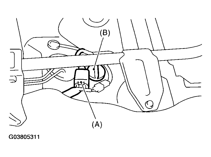
  10. Connect the connectors (A) to the fuel tank cord and plug the service hole with grommet (B).
    Fig 6: Identifying Connectors And Service Hole With Grommet
    G03805311Courtesy of SUBARU OF AMERICA, INC.
  11. Set the rear seat and floor mat.
  12. Connect the connector to the fuel pump relay.
    Fig 7: Connecting Connector To Fuel Pump Relay
    G03805312Courtesy of SUBARU OF AMERICA, INC.