lemon-mirror:
Home >> Subaru >> 2005 >> Forester X, Automatic >> Repair and Diagnosis >> Engine Performance >> Engine Control Systems >> Fuel Injection - Fuel Systems (H4SO) >> Knock Sensor >> Installation

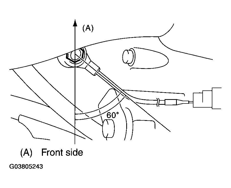
Knock Sensor: Installation

  1. Install the knock sensor to cylinder block.
    NOTE: Extraction area of knock sensor cord must be positioned at a 60° angle relative to the engine rear.

    Tightening torque: 

    24 N.m (2.4 kgf-m, 17.4 ft-lb) 

    Fig 1: Installing Knock Sensor To Cylinder Block
    G03805243Courtesy of SUBARU OF AMERICA, INC.
  2. Connect the knock sensor connector.
    Fig 2: Connecting Knock Sensor Connector
    G03805244Courtesy of SUBARU OF AMERICA, INC.
  3. Install the air intake chamber. < Ref. to INSTALLATION , Air Intake Chamber. >
  4. Connect the battery ground cable to battery.
    Fig 3: Connecting Battery Ground Cable To Battery
    G03805245Courtesy of SUBARU OF AMERICA, INC.