lemon-mirror:
Home >> Subaru >> 2005 >> Forester XT, Automatic >> Repair and Diagnosis >> Engine Performance >> Engine Control Systems >> Fuel Injection - Fuel Systems (H4DOTC) >> Knock Sensor >> Installation

Knock Sensor: Installation

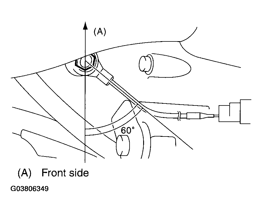
  1. Install the knock sensor to the cylinder block.

    Tightening torque: 

    24 N.m (2.4 kgf-m, 17.4 ft-lb) 

    NOTE: Extraction area of the knock sensor cord must be positioned at a 60° angle relative to the engine rear.
    Fig 1: Installing Knock Sensor To Cylinder Block
    G03806349Courtesy of SUBARU OF AMERICA, INC.
  2. Connect the knock sensor connector.
    Fig 2: Connecting Knock Sensor Connector
    G03806350Courtesy of SUBARU OF AMERICA, INC.
  3. Install the intercooler. < Ref. to INSTALLATION , Intercooler. >
  4. Connect the battery ground cable to battery.
    Fig 3: Connecting Battery Ground Cable To Battery
    G03806351Courtesy of SUBARU OF AMERICA, INC.