lemon-mirror:
Home >> Subaru >> 2005 >> Outback R >> Repair and Diagnosis >> Body & Frame >> Door Locks >> Security And Locks >> Front Inner Remote >> Removal

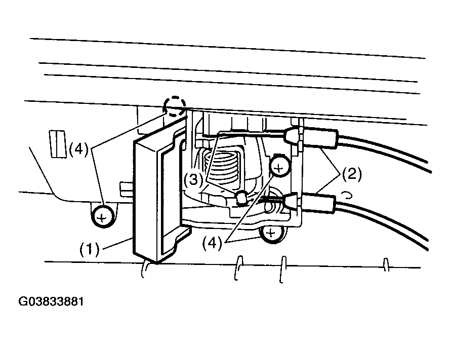
Front Inner Remote: Removal

  1. Remove the door trim. < Ref. to REMOVAL , Door Trim. >
  2. Remove the back cover (1) of inner remote.
  3. Remove the cable (2).
  4. Remove the cable end ball (3).
  5. Remove the screws (4), and detach the inner remote.
Fig 1: Removing Screws And Detaching Inner Remote
G03833881Courtesy of SUBARU OF AMERICA, INC.