lemon-mirror:
Home >> Subaru >> 2005 >> Outback R >> Repair and Diagnosis >> Brakes >> Traction Control >> Anti-Lock Brake Control System - Vehicle Dynamics Control (VDC) >> Steering Angle Sensor >> Replacement

Steering Angle Sensor: Replacement

CAUTION:
  • Do not perform the removal except when the replacement.
  • When replacing more than three times, replace the combination switch as assembly to protect screw part.
  1. Set the steering wheel in a wheel-forward position.
  2. Disconnect the ground cable from battery.
  3. Remove the airbag module.

    < Ref. to REMOVAL , Driver's Airbag Module. >

    WARNING: Always refer to AIRBAG SYSTEM when performing the airbag module repair service.

    < Ref. to  CAUTION  , General Description.> 

  4. Remove the steering wheel.

    < Ref. to REMOVAL , Steering Wheel. >

  5. Remove the screws and detach the steering column lower cover.
  6. Remove the two screws securing the steering column upper cover.
  7. Unlock the harness band and disconnect the connector of steering angle sensor.
    Fig 1: Unlocking Harness Band And Disconnecting Steering Angle Sensor Connector
    G03832868Courtesy of SUBARU OF AMERICA, INC.
  8. Remove the screws which secure the roll connector to steering column.
    Fig 2: Removing Screws Securing Roll Connector To Steering Column
    G03832869Courtesy of SUBARU OF AMERICA, INC.
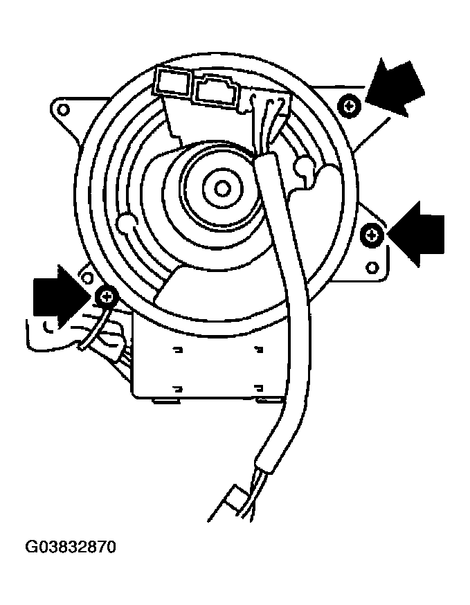
  9. Remove the steering angle sensor from roll connector.
    Fig 3: Removing Steering Angle Sensor From Roll Connector
    G03832870Courtesy of SUBARU OF AMERICA, INC.
  10. Turn the protrusion portion of new steering angle sensor to match the alignment mark of inspection hole.
    Fig 4: Matching Alignment Mark
    G03832871Courtesy of SUBARU OF AMERICA, INC.
    CAUTION: Be careful not to allow foreign particles to enter from inspection hole.
  11. Align the center of roll connector.

    < Ref. to INSTALLATION , Roll Connector. >

  12. Apply thin coat of grease which is enclosed with new part to the protruding parts (four) of steering angle sensor.
    Fig 5: Locating Grease Applying Point
    G03832872Courtesy of SUBARU OF AMERICA, INC.
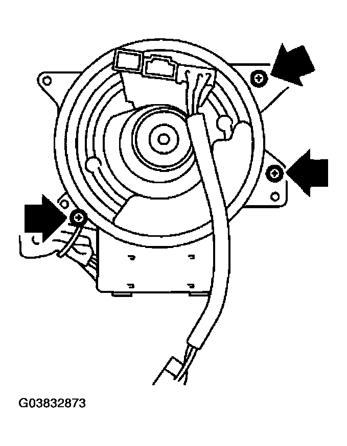
  13. Align the position of protrusion portion and install the roll connector to the steering angle sensor.

    Tightening torque: 0.5 N.m (0.05 kgf-m, 0.36 ft-lb) 

    Fig 6: Installing Steering Angle Sensor To Roll Connector
    G03832873Courtesy of SUBARU OF AMERICA, INC.
  14. Install the roll connector to combination switch.
    Fig 7: Tightening Screws Securing Roll Connector To Steering Column
    G03832874Courtesy of SUBARU OF AMERICA, INC.
  15. Install the steering wheel.

    < Ref. to INSTALLATION , Steering Wheel. >

    Tightening torque: 44 N.m (4.5 kgf-m, 32.5 ft-lb) 

  16. Install the airbag module to steering wheel.

    < Ref. to INSTALLATION , Driver's Airbag Module. >

    WARNING: Always refer to AIRBAG SYSTEM before performing the service operation.

    < Ref. to  CAUTION  , General Description.> 

  17. Connect the battery ground cable to battery.
CAUTION: After completion of installation, adjust the following two positions.
  • Positioning to the center of steering angle sensor
  • Positioning of the yaw rate and lateral G sensor to zero

The above procedure is required VDCCM&H/U to identify the vehicle position afterward. For the setting procedure of step 2 above, refer to "VDC Control Module and Hydraulic Control Unit". < Ref. to , ADJUSTMENT , VDC Control Module and Hydraulic Control Unit (VDCCM/U). >