lemon-mirror:
Home >> Subaru >> 2005 >> Outback R >> Repair and Diagnosis >> Engine Performance >> Engine Control Systems >> Fuel Injection (Fuel Systems) (H6DO) >> General Description >> Components With Torque Specifications >> Air Intake System

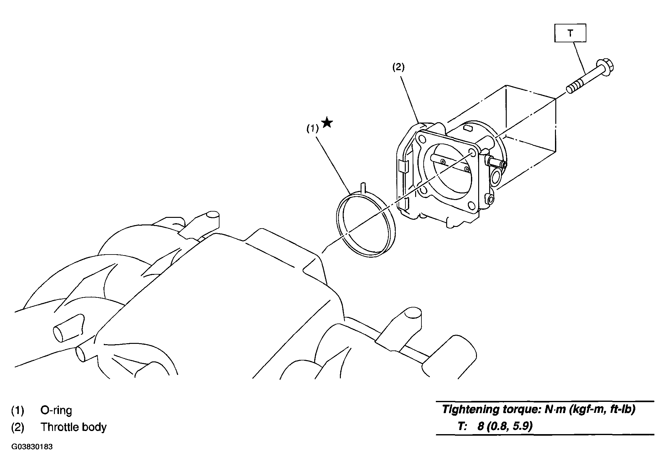
Air Intake System

Fig 1: Exploded View Of Air Intake System With Torque Specifications
G03830183Courtesy of SUBARU OF AMERICA, INC.