lemon-mirror:
Home >> Subaru >> 2005 >> Outback R >> Repair and Diagnosis >> External Pages >> Different car >> Section 38 (Drivetrain System) >> Front Axle >> Assembly

Front Axle: Assembly

WARNING: This page is about a different car, the 2005 Subaru Baja. However, it is still accessible from the selected car via links, so may be relevant.
  1. Attach hub to ST securely.

    ST 927080000 HUB STAND

    Fig 1: Attaching Hub To ST Securely
    G03751628Courtesy of SUBARU OF AMERICA, INC.
  2. Using a hydraulic press, press new hub bolts into place.
    CAUTION: Be sure to press hub bolts until their seating surfaces contact the hub.
    NOTE: Use 12 mm (0.47 in) dia. holes in HUB STAND to prevent bolts from tilting.
  3. Clean dust or foreign particles from inside the housing.
  4. Using ST1 and ST2, press a new bearing into place.

    ST1 927400000 HOUSING STAND

    ST2 927100000 BEARING REMOVER

    CAUTION:
    • Always press outer race when installing bearing.
    • Be careful not to remove plastic lock from inner race when installing bearing.
    Fig 2: Installing New Bearing
    G03751629Courtesy of SUBARU OF AMERICA, INC.
  5. Using snap ring pliers, install snap ring in its groove.
    CAUTION: Make sure to install it firmly to groove.
    Fig 3: Installing Snap Ring
    G03751630Courtesy of SUBARU OF AMERICA, INC.
  6. Using ST1 and ST2, press inner oil seal until it contacts circlip.

    ST1 927410000 OIL SEAL INSTALLER

    ST2 927400000 HOUSING STAND

    Fig 4: Installing Inner Oil Seal
    G03751631Courtesy of SUBARU OF AMERICA, INC.
  7. Invert ST and housing.

    ST 927400000 HOUSING STAND

  8. Using ST1 and ST2, press outer oil seal until it contacts the bottom of housing.

    ST1 927410000 OIL SEAL INSTALLER

    ST2 927400000 HOUSING STAND

    Fig 5: Installing Outer Oil Seal
    G03751632Courtesy of SUBARU OF AMERICA, INC.
  9. Apply sufficient grease to oil seal lip portion.

    Specified grease 

    SHELL 6459N 

    CAUTION:
    • If specified grease is not available, remove bearing grease and apply Auto Rex A instead.
    • Do not mix different types of grease.
  10. Install disc cover to housing the three bolts.

    Tightening torque: 

    18 N.m (1.8 kgf-m, 13.0 ft-lb) 

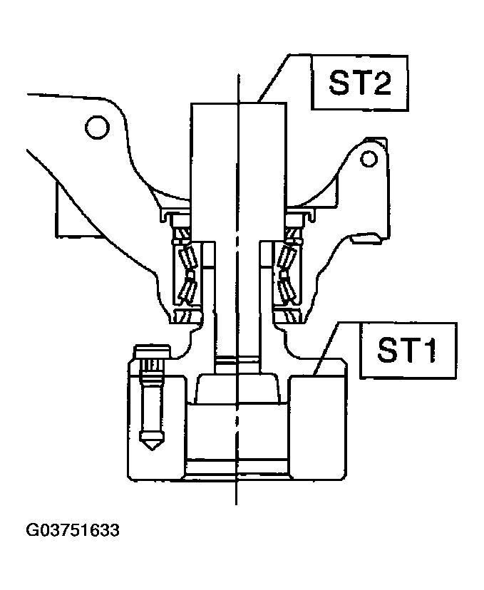
  11. Attach hub to ST1 securely.
  12. Clean dust or foreign particles from the polished surface of hub.
  13. Using ST2, press bearing into hub by driving inner race.

    ST1 927080000 HUB STAND

    ST2 927120000 HUB INSTALLER

    Fig 6: Pressing Bearing Into Hub By Driving Inner Race Using ST2
    G03751633Courtesy of SUBARU OF AMERICA, INC.