lemon-mirror:
Home >> Subaru >> 2005 >> Outback R >> Repair and Diagnosis >> External Pages >> Different car >> Section 38 (Drivetrain System) >> Front Axle >> Disassembly

Front Axle: Disassembly

WARNING: This page is about a different car, the 2005 Subaru Baja. However, it is still accessible from the selected car via links, so may be relevant.
  1. Using ST1, support housing and hub securely.
  2. Attach ST2 to housing and drive hub out.

    ST1 927060000 HUB REMOVER

    ST2 927080000 HUB STAND

    Fig 1: Driving Out Hub
    G03751622Courtesy of SUBARU OF AMERICA, INC.

    If inner bearing race remains in the hub, remove it with a suitable tool (commercially available).

    CAUTION:
    • Be careful not to scratch polished area of hub.
    • Be sure to install inner race on the side of outer race from which it was removed.
    • Replace the removed hub with new one.
    Fig 2: Identifying Bearing Race
    G03751623Courtesy of SUBARU OF AMERICA, INC.
  3. Remove disc cover from housing.
    Fig 3: Removing Disc Cover From Housing
    G03751624Courtesy of SUBARU OF AMERICA, INC.
  4. Using a screwdriver, remove outer and inner oil seals.
    CAUTION: Replace the removed oil seal with new one.
  5. Using flat-bladed screwdriver, remove snap ring.
    Fig 4: Removing Snap Ring
    G03751625Courtesy of SUBARU OF AMERICA, INC.
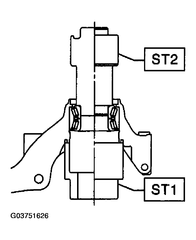
  6. Using ST1, support housing securely.
  7. Using ST2, press inner race to drive out outer bearing.

    ST1 927400000 HOUSING STAND

    ST2 927100000 BEARING REMOVER

    CAUTION:
    • Do not remove outer race unless it is faulty.
    • Replace the removed outer race with new one.
    • Do not replace inner or outer race separately; always replace as a unit.
  8. Fig 5: Removing Outer Bearing
    G03751626Courtesy of SUBARU OF AMERICA, INC.
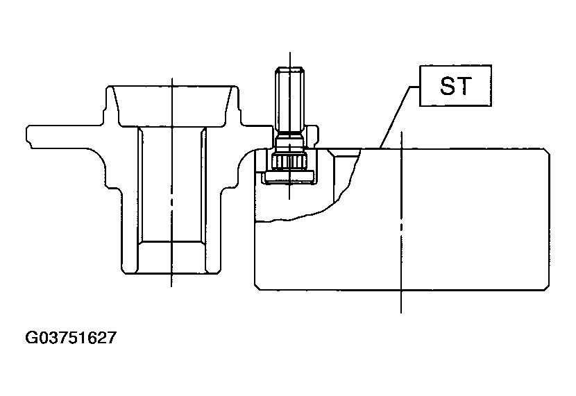
  9. Using ST and a hydraulic press, drive hub bolts out.

    ST 927080000 HUB STAND

    CAUTION: Be careful not to hammer hub bolts. This may deform hub.
    Fig 6: Removing Hub Bolts
    G03751627Courtesy of SUBARU OF AMERICA, INC.