lemon-mirror:
Home >> Subaru >> 2005 >> Outback XT, Automatic >> Repair and Diagnosis >> Engine Performance >> Engine Control Systems >> Fuel Injection (Fuel Systems) (H4DOTC) >> Fuel Sub Level Sensor >> Removal

Fuel Sub Level Sensor: Removal

WARNING:
  • Place "NO FIRE" signs near the working area.
  • Be careful not to spill fuel on the floor.
  1. Drain fuel. < Ref. to , DRAINING FUEL , PROCEDURE, Fuel. >
  2. Remove the rear seat.
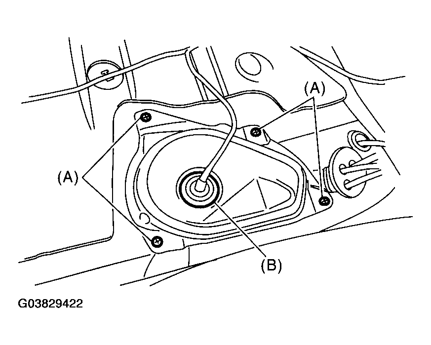
  3. Remove the service hole cover.
    1. Remove the bolts (A).
    2. Push the grommet (B) down under the body and remove the service hole cover.
      Fig 1: Removing Bolts
      G03829422Courtesy of SUBARU OF AMERICA, INC.
  4. Disconnect the connector from fuel sub level sensor.
    Fig 2: Disconnecting Connector From Fuel Sub Level Sensor
    G03829423Courtesy of SUBARU OF AMERICA, INC.
  5. Disconnect the quick connector and then disconnect the fuel delivery hose, return hose and jet pump hose. < Ref. to , REMOVAL , Fuel Delivery, Return and Evaporation Lines. >
  6. Remove the nuts and bolts which install the fuel sub level sensor on fuel tank.
    Fig 3: Removing Nuts And Bolts
    G03829424Courtesy of SUBARU OF AMERICA, INC.
  7. Remove the fuel sub level sensor.