lemon-mirror:
Home >> Subaru >> 2006 >> B9 Tribeca Base >> Repair and Diagnosis >> Engine Performance >> Engine Control Systems >> Fuel Injection (Fuel Systems) (H6DO) >> General Description >> Components With Torque Specifications >> Air Intake System

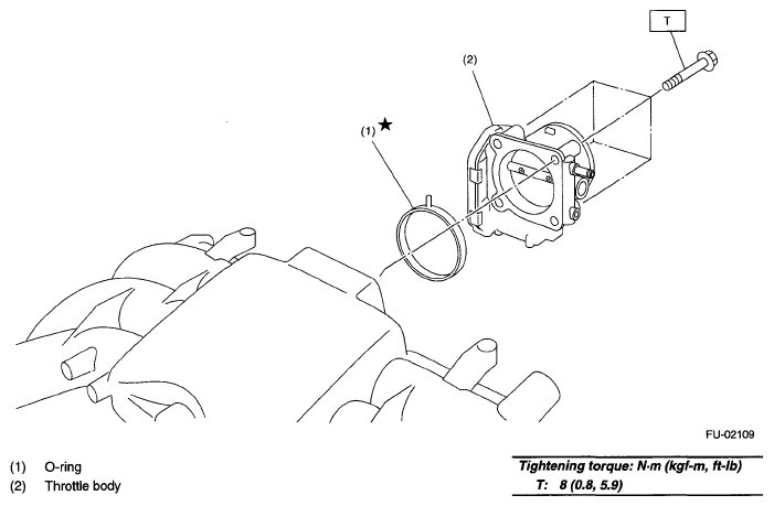
Air Intake System

Fig 1: Air Intake System Replacement Components With Torque Specifications
G05030994Courtesy of SUBARU OF AMERICA, INC.