lemon-mirror:
Home >> Subaru >> 2006 >> Baja Base, Automatic >> Repair and Diagnosis >> Body & Frame >> Windows >> Glass/Window/Mirrors >> Rear Window Defogger >> Inspection

Rear Window Defogger: Inspection

CAUTION: When wiping stain on glass off with cloth, use a dry and soft cloth and move it in the direction of the heat wire extension to avoid damage to the heat wire.
  1. Turn ignition switch to ON.
  2. Turn defogger switch to ON.
  3. Wrap tips of tester pins with aluminum foil to avoid damage to heat wire.
    Fig 1: Wrapping Tips Of Tester Pins
    G04991533Courtesy of SUBARU OF AMERICA, INC.
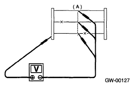
  4. Measure voltage at wire center (A) with DC voltmeter.

    Standard voltage: 

    Approx. 6 volts 

    Fig 2: Measuring Voltage At Wire Center
    G04991534Courtesy of SUBARU OF AMERICA, INC.
    REAR WINDOW DEFOGGER SPECIFICATION

    Voltage Criteria
    Approx. 6 V OK
    Approx. 12 V or 0 V Broken
    NOTE:
    • If the measured value is 12 volts, heat wire is open between wire center and positive (+) end.
    • If zero volt, heat wire is open between wire center and ground.
  5. Apply positive lead of voltmeter to positive terminal of voltmeter, and then move negative lead along the wire up to the negative terminal end. If voltage changes from zero to several volts during movement of lead, heat wire is open at the voltage change point.