lemon-mirror:
Home >> Subaru >> 2006 >> Forester X, Automatic >> Repair and Diagnosis >> Engine Performance >> Engine Control Systems >> Fuel Injection (Fuel Systems) (H4SO) >> Knock Sensor >> Installation

Knock Sensor: Installation

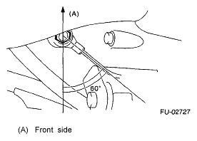
  1. Install the knock sensor to cylinder block.
    NOTE: Extraction area of knock sensor cord must be positioned at a 60° angle relative to the engine rear.

    Tightening torque: 24 N.m (2.4 kgf-m, 17.4 ft-lb) 

    Fig 1: Identifying Knock Sensor Cord Position
    G04992253
  2. Connect the knock sensor connector.
    Fig 2: Identifying Knock Sensor Connector
    G04997336
  3. Install the air intake chamber.

    <Ref. to INSTALLATION , Air Intake Chamber. >

  4. Connect the ground cable to battery.
    Fig 3: Disconnecting Battery Ground Cable
    G04988132