lemon-mirror:
Home >> Subaru >> 2006 >> Outback R >> Repair and Diagnosis >> Engine Performance >> Engine Control Systems >> Fuel Injection (Fuel Systems) (H6DO) >> Knock Sensor >> Installation

Knock Sensor: Installation

  1. Install the knock sensor to cylinder block.

    Tightening torque: 25 N.m (2.5 kgf-m, 18 ft-lb) 

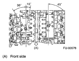
    NOTE: For the knock sensor installation angle, refer to the figure below.
    Fig 1: Identifying Knock Sensor Installation Angle
    G05018447
  2. Connect the knock sensor connector.
  3. Install the intake manifold. < Ref. to INSTALLATION , Intake Manifold. >
  4. Connect the battery ground cable to the battery.
    Fig 2: Connecting Battery Ground Cable
    G05019586
  5. Install the collector cover.