lemon-mirror:
Home >> Subaru >> 2006 >> Outback XT, Standard >> Repair and Diagnosis >> Maintenance >> Schedule >> General Information >> Note >> Note >> Tie-Downs

General Information: Note: Note: Tie-Downs

Tie-downs are used when transporting vehicles and when using the chassis dynamo. Attach tie-down only to the specified locations on the vehicle.

CAUTION: Use the T-hook for rear tie-down. Do not use the hook other than T-hook, otherwise it can be removed when transporting vehicles.
Fig 1: Identifying Hook For Tie-Down
G05019475
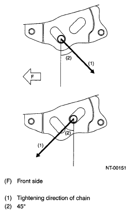
NOTE: Pull the chains LH and RH in the same direction, but front and rear side in the counter direction. Pull all the chains in a same moment.
Fig 2: Identifying Vehicle Pulling Chain Direction
G05019476

Measure the distance between the highest tire point and highest arch point before and after tie-down. Difference of measured values (sinking volume) should be within 50 mm (1.97 in) and make sure to fix the vehicle securely.

Fig 5: Identifying Distance Between Highest Tire Point And Highest Arch Point
G05019479