lemon-mirror:
Home >> Subaru >> 2007 >> B9 Tribeca Base >> Repair and Diagnosis >> Suspension >> Wheel Alignment >> Front Suspension >> General Description >> Specification

Front Suspension: General Description: Specification

GENERAL SPECIFICATION

Front Wheel arch height
[Tolerance: +12 mm -24 mm ( +0.47 in -0.94 in)]
mm (in) 442 (17.4)
Camber (Tolerance: Differences between RH and LH: 45' or less) 0°00'
Caster (Referential Value 4°04'
Steering angle (Tolerance: ±1.5°) Inner wheel 37.0°
Outer wheel 32.0°
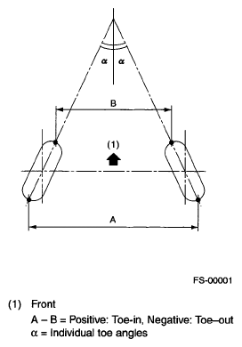
Toe-in mm (in) 0±3 (0±0.12) Toe angle (sum of both wheels): 0°±0°14'
Kingpin angle (Referential Value) 12°12'
Diameter of stabilizer mm (in) 25 (0.98)
Rear Wheel arch height
[Tolerance: +12 mm - 24 mm ( +0.47 in - 0.94 in)]
mm (in) 439 (17.3)
Camber (Tolerance: Differences between RH and LH: 45' or less) -0°31'
Toe-in mm (in) 2±2 (0.08±0.08) Toe angle (sum of both wheels): 0°±0°14'
Thrust angle (Tolerance: ±0°30'
Diameter of stabilizer mm (in) 16 (0.63)
NOTE:
  • Front and rear toe-in and front camber can be adjusted. Adjust if the toe-in or camber tolerance exceeds specifications.
  • Other items indicated in the specifications table cannot be adjusted. If other items exceed specifications, check the suspension parts and connections for deformation, and replace with new ones as required.
Fig 1: Identifying Toe-In Adjustment Angle
G05032319Courtesy of SUBARU OF AMERICA, INC.