lemon-mirror:
Home >> Subaru >> 2007 >> Forester X, Automatic >> Repair and Diagnosis >> Engine Performance >> Engine Control Systems >> Fuel Injection System (H4SO) >> Fuel Filler Pipe >> Installation

Fuel Filler Pipe: Installation

  1. Open the fuel filler flap lid.
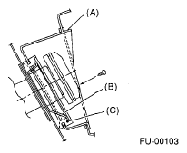
  2. Set the fuel saucer (A) with rubber packing (C), and insert the fuel filler pipe into hole from the inner side of apron.
  3. Align the holes in fuel filler pipe neck and set the cup (B), and tighten the screws.
    NOTE: If the edges of rubber packing are folded toward the inside, straighten it with a screwdriver.
    Fig 1: Identifying Fuel Saucer, Rubber Packing And Cup
    G05323579Courtesy of SUBARU OF AMERICA, INC.
  4. Install the evaporation pipe.
    Fig 2: Identifying Evaporation Pipe With Clip
    G04997456Courtesy of SUBARU OF AMERICA, INC.
  5. Connect the evaporation hose to the fuel pipe.
    Fig 3: Identifying Evaporation Hose
    G04997453Courtesy of SUBARU OF AMERICA, INC.
  6. Connect the fuel filler hose (A) to the pipe with an overlap of 35 to 40 mm (1.38 to 1.57 in).
  7. Connect the evaporation hose (B) to the pipe with an overlap of 25 to 30 mm (0.98 to 1.18 in).
    CAUTION: Do not allow clips to touch evaporation hose (B) and rear suspension crossmember.
    Fig 4: Identifying Fuel Filler Hose And Evaporation Hose
    G04992331Courtesy of SUBARU OF AMERICA, INC.
    Fig 5: Identifying Hose, Clip And Pipe
    G05323583Courtesy of SUBARU OF AMERICA, INC.
  8. Tighten the bolts which hold fuel filler pipe bracket on the body.

    Tightening torque: 

    7.5 N.m (0.76 kgf-m, 5.5 ft-lb) 

    Fig 6: Identifying Fuel Filler Pipe Bracket Bolts
    G04997454Courtesy of SUBARU OF AMERICA, INC.
  9. Fasten the evaporation hoses to the clip of fuel filler pipe.
    Fig 7: Identifying Fuel Filler Pipe Clip
    G04997452Courtesy of SUBARU OF AMERICA, INC.
  10. Install the fuel filler pipe protector.
    Fig 8: Identifying Fuel Filler Pipe Protector Screws
    G04997451Courtesy of SUBARU OF AMERICA, INC.
  11. Lower the vehicle.
  12. Install the rear wheel RH.

    Tightening torque: 

    100 N.m (10.2 kgf-m, 73.8 ft-lb) 

  13. Connect the ground cable to the battery.
    Fig 9: Connecting Ground Cable From Battery
    G04988132Courtesy of SUBARU OF AMERICA, INC.