lemon-mirror:
Home >> Subaru >> 2007 >> Forester X, Automatic >> Repair and Diagnosis >> Engine Performance >> Engine Control Systems >> Fuel Injection System (H4SO) >> Fuel Tank >> Installation

Fuel Tank: Installation

  1. Support the fuel tank with transmission jack and push the fuel tank harness into access hole along with the grommet.
  2. Set the fuel tank and temporarily tighten the bolts of fuel tank bands.
    WARNING: A helper is required to perform this work.
    Fig 1: Identifying Transmission Jack Bolts
    G04997441Courtesy of SUBARU OF AMERICA, INC.
  3. Insert the fuel filler hose (A) approx. 35 to 40 mm (1.38 to 1.57 in) over the lower end of fuel filler pipe and tighten the clamp.
  4. Insert the evaporation hose (B) into the lower end of evaporation pipe, and secure the clamps and clips.
    Fig 2: Identifying Fuel Filler Hose And Evaporation Hose
    G04992313Courtesy of SUBARU OF AMERICA, INC.
    CAUTION: Do not allow clips to touch hose (A) and rear suspension crossmember.
    Fig 3: Identifying Filler Hose
    G04997444Courtesy of SUBARU OF AMERICA, INC.
  5. Connect the fuel hoses, and hold them with clips and quick connector. <Ref. to REMOVAL , Fuel Delivery, Return and Evaporation Lines . >
    Fig 4: Identifying Fuel Hose
    G04997440Courtesy of SUBARU OF AMERICA, INC.
  6. Connect the connector to pressure control solenoid valve.
  7. Install the canister. <Ref. to INSTALLATION , Canister. >
  8. Tighten the band mounting bolts.

    Tightening torque: 

    33 N.m (3.4 kgf-m, 25 ft-lb) 

    Fig 5: Identifying Transmission Jack Bolts
    G04997441Courtesy of SUBARU OF AMERICA, INC.
  9. Install the rear crossmember. <Ref. INSTALLATION , Rear Crossmember. >
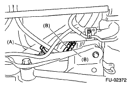
  10. Connect the connector (A) to the fuel tank cord and plug the service hole with grommet (B).
    Fig 6: Identifying Fuel Tank Cord Connector And Grommet
    G04997437Courtesy of SUBARU OF AMERICA, INC.
  11. Set the rear seat and floor mats.
  12. Connect the connector to fuel pump relay.
    Fig 7: Identifying Fuel Pump Relay Connector
    G04992306Courtesy of SUBARU OF AMERICA, INC.