lemon-mirror:
Home >> Subaru >> 2007 >> Forester X, Automatic >> Repair and Diagnosis >> Transmission >> Automatic Trans >> A/T Control Systems >> AT Shift Lock Control System >> Wiring Diagram

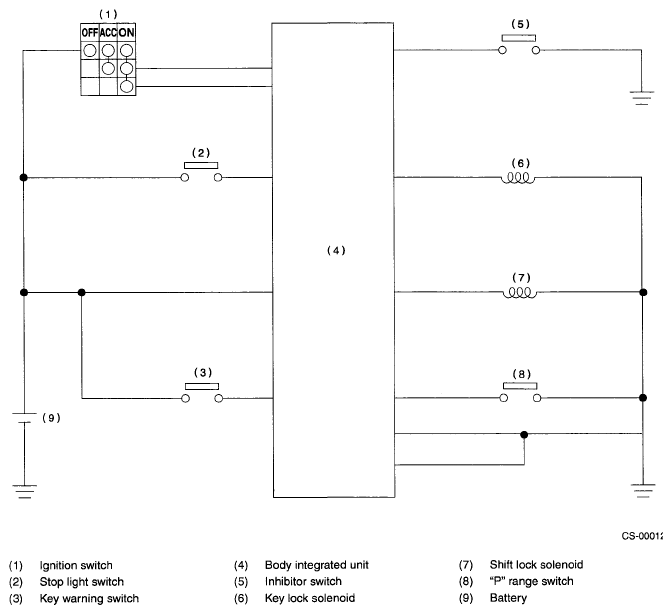
AT Shift Lock Control System: Wiring Diagram

Fig 1: AT Shift Lock Control System - Wiring Diagram
G04993906Courtesy of SUBARU OF AMERICA, INC.