lemon-mirror:
Home >> Subaru >> 2007 >> Outback XT Limited, Automatic >> Repair and Diagnosis >> Engine Performance >> Engine Control Systems >> Fuel Injection System (H4DOTC) >> General Description >> Components With Torque Specifications >> Air Intake System

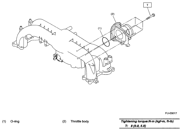
Air Intake System

Fig 1: Air Intake System Replacement Components With Torque Specifications
G05340055Courtesy of SUBARU OF AMERICA, INC.