lemon-mirror:
Home >> Subaru >> 2007 >> Outback i, Automatic >> Repair and Diagnosis >> Transmission >> Transmission Control Systems >> A/T Control Systems >> MT Gear Shift Lever >> Installation >> 5MT Model

5MT Model

  1. Install the joint to the transmission and secure with a spring pin.
  2. Insert the gear shift lever from the room side.
    NOTE: Insert the rod and the stay, and then temporarily set them onto the transmission mount.
    Fig 1: Inserting Gear Shift Lever From Room Side
    G05019723Courtesy of SUBARU OF AMERICA, INC.
  3. Lift the vehicle.
  4. Mount the cushion rubber on the vehicle body.

    Tightening torque: 18 N.m (1.8 kgf-m, 13.3 ft-lb) 

    Fig 2: Identifying Cushion Rubber On Vehicle Body
    G05341867Courtesy of SUBARU OF AMERICA, INC.
  5. Using new self-locking nuts, connect the rod to the joint.

    Tightening torque: 18 N.m (1.8 kgf-m, 13.3 ft-lb) 

    Fig 3: Connecting Rod To Joint Using New Self-Locking Nuts
    G05341868Courtesy of SUBARU OF AMERICA, INC.
  6. Using new self-locking nuts, connect the stay to the transmission bracket.

    Tightening torque: 18 N.m (1.8 kgf-m, 13.3 ft-lb) 

    Fig 4: Identifying Stay And Transmission Bracket
    G05341869Courtesy of SUBARU OF AMERICA, INC.
  7. Install the heat shield cover.
    Fig 5: Identifying Heat Shield Cover
    G05019661Courtesy of SUBARU OF AMERICA, INC.
  8. Install the rear exhaust pipe and muffler.
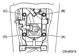
  9. Install the plate assembly to the vehicle body.

    Tightening torque: 18 N.m (1.8 kgf-m, 13.3 ft-lb) 

    1. Set the plate assembly to the vehicle.
    2. Temporarily tighten the bolt (A).
    3. Tighten the bolt (B).
    4. Tighten the bolt (A).
    5. Tighten the bolts (C) and (D).
      Fig 6: Identifying Plate Assembly Bolts
      G05019717Courtesy of SUBARU OF AMERICA, INC.
  10. Install the harness clamp to the plate.
  11. Install the boot and insulator assembly, and secure with a clamp.
    Fig 7: Identifying Clamp
    G05019715Courtesy of SUBARU OF AMERICA, INC.
  12. Install the front cover assembly.
  13. Install the console box. <Ref. to INSTALLATION , Console Box .>