lemon-mirror:
Home >> Subaru >> 2008 >> Forester XT, Automatic >> Repair and Diagnosis >> Steering >> Power Steering >> Power Steering System >> Pipe Assembly >> Installation

Pipe Assembly: Installation

  1. Temporarily tighten the two bolts fixing pipe C and D. (bolt A)
    NOTE: Visually check that the hose between tank and pipe D is free from bending or twisting.
    Fig 1: Identifying Bolt
    G03808858Courtesy of SUBARU OF AMERICA, INC.
    1. Connect the pipe D to reservoir tank.
    2. Using a new gasket, connect the pipe C to oil pump.

      Tightening torque: 

      39 N.m (4.0 kgf-m, 28.9 ft-lb) 

    3. Tighten the two bolts fixing pipe C and D. (bolt A)

      Tightening torque: 

      13 N.m (1.3 kgf-m, 9.4 ft-lb) 

  2. Temporarily connect the pipe C and D to gearbox assembly.
    Fig 2: Identifying Pipe To Gear Box Assembly
    G03808859Courtesy of SUBARU OF AMERICA, INC.
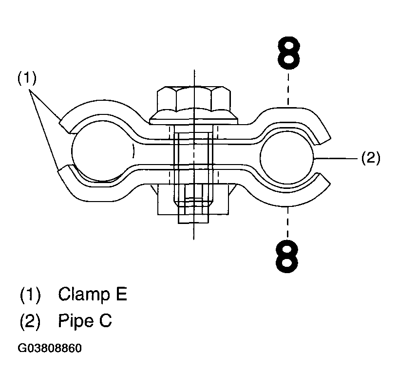
  3. Temporarily install the clamp E on pipes C and D.
    NOTE: Ensure the letter "8" on each clamp are same side as shown in the figure.
    Fig 3: Identifying Clamp
    G03808860Courtesy of SUBARU OF AMERICA, INC.
  4. Tighten the clamp E firmly.

    Tightening torque: 

    7.4 N.m (0.75 kgf-m, 5.4 ft-lb) 

  5. Tighten the joint nut.

    Tightening torque: 

    15 N.m (1.5 kgf-m, 10.8 ft-lb) 

  6. Connect the pipes A and B to four pipe joints of gearbox assembly. Connect the upper pipe B first, and lower pipe A second.

    Tightening torque: 

    13 N.m (1.3 kgf-m, 9.4 ft-lb) 

    Fig 4: Identifying Pipe
    G03808861Courtesy of SUBARU OF AMERICA, INC.
  7. Install the jack-up plate.
  8. Install the air intake duct, air cleaner upper cover and air intake boot. < Ref. to INSTALLATION , Air Intake Duct. >
  9. Connect the battery ground cable to battery.
  10. Feed the specified fluid.
    CAUTION: Never start the engine before feeding the fluid; otherwise vane pump might be seized up.
  11. Finally check clearance between pipes or hoses, as shown above.

    Clearance: 

    10 mm (0.39 in) or more. 

    If cruise control actuator-to-power steering hose clearance is less than 10 mm (0.39 in), move the portion (A) secured by clamp to other portion, or bend portion (B) to adjust.

    Fig 5: Identifying Pipe
    G03808862Courtesy of SUBARU OF AMERICA, INC.