lemon-mirror:
Home >> Subaru >> 2008 >> Forester XT, Automatic >> Repair and Diagnosis >> Suspension >> Wheel Alignment >> Front Suspension System >> Front Strut >> Assembly

Front Strut: Assembly

  1. Before installing the coil spring, strut mount, etc., on the strut, check for the presence of air in the damping force generating mechanism of the strut since air prevents proper damping force from being produced.
  2. Checking for the presence of air
    1. Place the strut vertically with piston rod facing up.
    2. Move the piston rod to center of its entire stroke.
    3. While holding the piston rod end with fingertips, move the rod up and down.
    4. If the piston rod moves at least 10 mm (0.39 in) in the former step, purge air from the strut.
  3. Air purging procedure
    1. Place the strut vertically with piston rod facing up.
    2. Fully extend the piston rod.
    3. With the piston rod fully extended, place the piston rod side down. The strut must stand vertically.
    4. Fully contract the piston rod.
    5. Repeat three or four times from the first step.
      NOTE: After completely purging air from the strut, be sure to place the strut with piston rod facing up. If it is laid down, check for entry of air in the strut as outlined under "Checking for the presence of air".
  4. Using a coil spring compressor, compress the coil spring.
    NOTE: Make sure that the installing direction of coil spring is as shown in the figure.
    Fig 1: Identifying Coil Spring Installation Direction
    G03808105Courtesy of SUBARU OF AMERICA, INC.
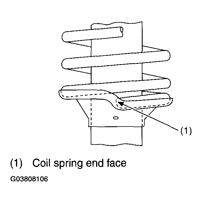
  5. Set the coil spring correctly so that its end face fits well into the spring seat as shown in the figure.
    Fig 2: Identifying Coil Springs Proper Seating
    G03808106Courtesy of SUBARU OF AMERICA, INC.
  6. Install the helper and dust cover to the piston rod.
  7. Pull the piston rod fully upward, and install the rubber seat and spring seat.
    NOTE: Ensure that upper spring seat is positioned as shown in the figure.
    Fig 3: Identifying Upper Spring Proper Seating
    G03808107Courtesy of SUBARU OF AMERICA, INC.
  8. Install the strut mount to the piston rod, and then tighten a new self-locking nut temporarily.
  9. Using a hexagon wrench to prevent strut rod from turning, tighten the self-locking nut with ST.

    ST 927760000 STRUT MOUNT SOCKET

    Tightening torque: 

    55 N.m (5.6 kgf-m, 41 ft-lb) 

    Fig 4: Tightening Self Locking Nut Using Strut Mount Socket ST 927760000
    G03808108Courtesy of SUBARU OF AMERICA, INC.
  10. Loosen the coil spring carefully.