lemon-mirror:
Home >> Subaru >> 2008 >> Impreza Outback Sport, Automatic >> Repair and Diagnosis >> Engine Performance >> Engine Control Systems >> Fuel Injection System (H4SO) >> Fuel Tank >> Installation

Fuel Tank: Installation

  1. Support the fuel tank with a transmission jack, set the fuel tank in place, and temporarily tighten the bolts of the fuel tank band.
    WARNING: A helper is required to perform this work.
    Fig 1: Locating Fuel Tank Band With Bolts
    G05659517Courtesy of SUBARU OF AMERICA, INC.
  2. Securely insert the fuel filler hose (A) and evaporation hose (B) into the specified position, then attach the clamp and clip as shown in the figure.
    Fig 2: Identifying Fuel Filler Hose And Evaporation Hose
    G07662854Courtesy of SUBARU OF AMERICA, INC.
    Fig 3: Identifying Hose, Pipe And Clip
    G05659520Courtesy of SUBARU OF AMERICA, INC.
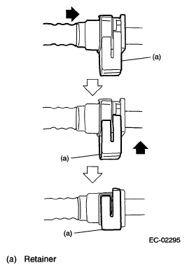
  3. Connect the quick connector of the evaporation hose to the evaporation pipe.
    CAUTION:
    • Check that there is no damage or dust on the quick connector. If necessary, clean seal surface of pipe.
    • When connecting the quick connector, insert the pipe all the way in securely, then operate the push lock.
    • If it is not possible to perform the push lock operation of the retainer, recheck whether the pipe is securely inserted.
    • Confirm that the quick connector is securely connected.
    Fig 4: Identifying Retainer
    G05659521Courtesy of SUBARU OF AMERICA, INC.
    Fig 5: Identifying Quick Connector
    G05659515Courtesy of SUBARU OF AMERICA, INC.
  4. Connect evaporation hose (B) to connector (A).
    Fig 6: Identifying Evaporation Hose To Connector
    G05659513Courtesy of SUBARU OF AMERICA, INC.
  5. Tighten the fuel tank band bolts in the order shown in the figure.
    Fig 7: Locating Fuel Tank Band Bolts
    G05659524Courtesy of SUBARU OF AMERICA, INC.

    Tightening torque: 

    33 N.m (3.4 kgf-m, 24.3 ft-lb) 

  6. Install the rear suspension assembly.
    WARNING: A helper is required to perform this work.
    1. Support the rear differential with the transmission jack.
    2. Support the rear suspension assembly, and tighten the bolts which secure the rear suspension assembly to the body.

      Tightening torque: 

      T1: 70 N.m (7.1 kgf-m, 51.6 ft-lb) 

      T2: 200 N.m (20.4 kgf-m, 147.5 ft-lb) 

      Fig 8: Tightening Rear Suspension Assembly Bolts
      G05659525Courtesy of SUBARU OF AMERICA, INC.
    3. Tighten the bolts which hold the rear shock absorber to the rear suspension arm.

      Tightening torque: 

      120 N.m (12.2 kgf-m, 88.5 ft-lb) 

      Fig 9: Locating Rear Shock Absorber Bolt
      G05659511Courtesy of SUBARU OF AMERICA, INC.
  7. Connect drain hose (B) to canister drain connector (A).
    Fig 10: Identifying Drain Hose From Canister Drain Connector
    G05659510Courtesy of SUBARU OF AMERICA, INC.
  8. Tighten the bolts holding the parking brake cable clamp.

    Tightening torque: 

    18 N.m (1.8 kgf-m, 13.3 ft-lb) 

    Fig 11: Locating Parking Brake Cable Clamp
    G05659509Courtesy of SUBARU OF AMERICA, INC.
  9. Connect the connector to the rear ABS wheel speed sensor.
    Fig 12: Locating Rear ABS Wheel Speed Sensor
    G05659508Courtesy of SUBARU OF AMERICA, INC.
  10. Install the heat shield cover.
  11. Install the fuel tank protector.

    Tightening torque: 

    Nut: 9 N.m (0.9 kgf-m, 6.6 ft-lb) 

    Bolt: 18 N.m (1.8 kgf-m, 12.9 ft-lb) 

  12. Install the propeller shaft. <Ref. to INSTALLATION , Propeller Shaft.>
  13. Install the rear exhaust pipe.

    <Ref. to INSTALLATION , Rear Exhaust Pipe.>

  14. Lower the vehicle.
  15. Connect the parking brake cable to the parking brake assembly. <Ref. to INSTALLATION , Parking Brake Assembly (Rear Disc Brake).>
  16. Install the rear brake caliper.
  17. Tighten the bolts which hold the rear brake hose bracket.

    Tightening torque: 

    33 N.m (3.4 kgf-m, 24.3 ft-lb) 

    Fig 13: Locating Rear Brake Hose Bracket Bolt
    G05659506Courtesy of SUBARU OF AMERICA, INC.
  18. Attach the rear ABS vehicle speed sensor to the rear housing.

    Tightening torque: 

    7.5 N.m (0.76 kgf-m, 5.5 ft-lb) 

    Fig 14: Locating Rear ABS Wheel Speed Sensor
    G05659505Courtesy of SUBARU OF AMERICA, INC.
  19. Install the rear wheels.

    Tightening torque: 

    100 N.m (10.2 kgf-m, 73.8 ft-lb) 

  20. Connect quick connector of the fuel delivery tube (A).

    <Ref. to INSTALLATION , Fuel Delivery and Evaporation Lines. >

    Fig 15: Identifying Quick Connector On Fuel Delivery Tube
    G05659504Courtesy of SUBARU OF AMERICA, INC.
  21. Install the service hole cover of fuel sub level sensor.
    Fig 16: Identifying Service Hole Cover Of Fuel Sub Level Sensor
    G05659503Courtesy of SUBARU OF AMERICA, INC.
  22. Attach the service hole cover of the fuel pump, and secure the connector and clip.
    Fig 17: Identifying Connector, Clip, Bolt And Grommet
    G05659534Courtesy of SUBARU OF AMERICA, INC.
  23. Install the rear seat.
  24. Install the fuse of fuel pump to main fuse box.
  25. Connect the ground cable to the battery.
    Fig 18: Disconnecting Ground Cable From Battery
    G05019586Courtesy of SUBARU OF AMERICA, INC.
  26. Inspect the wheel alignment and adjust if necessary.