lemon-mirror:
Home >> Subaru >> 2008 >> Legacy R Limited >> Repair and Diagnosis >> Engine Performance >> Engine Control Systems >> Fuel Injection System (H6DO) >> General Description >> Components With Torque Specifications >> Air Intake System

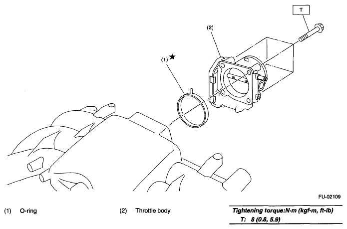
Air Intake System

Fig 1: Identifying O-Ring And Throttle Body
G05665236Courtesy of SUBARU OF AMERICA, INC.