lemon-mirror:
Home >> Subaru >> 2008 >> Outback Base, Automatic >> Repair and Diagnosis >> Body & Frame >> Windows >> Glass/Windows/Mirrors >> Rearview Mirror >> Removal

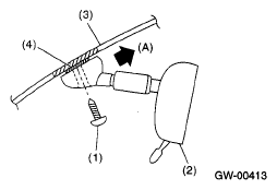
Rearview Mirror: Removal

  1. Remove the TORX® screw (1).
  2. Slide the rearview mirror (2) to the upper side (A) of the windshield glass (3), and remove the rearview mirror from the button (4).
    Fig 1: Sliding Rearview Mirror To Upper Side Of Windshield Glass
    G05022664Courtesy of SUBARU OF AMERICA, INC.
    CAUTION:
    • Be careful not to damage the mirror surface.
    • Be careful not to damage the windshield glass.