lemon-mirror:
Home >> Subaru >> 2008 >> Outback Base, Automatic >> Repair and Diagnosis >> Engine Performance >> Fuel Delivery >> Mechanism & Function -- Fuel Injection System (H4SO) >> Fuel System >> General

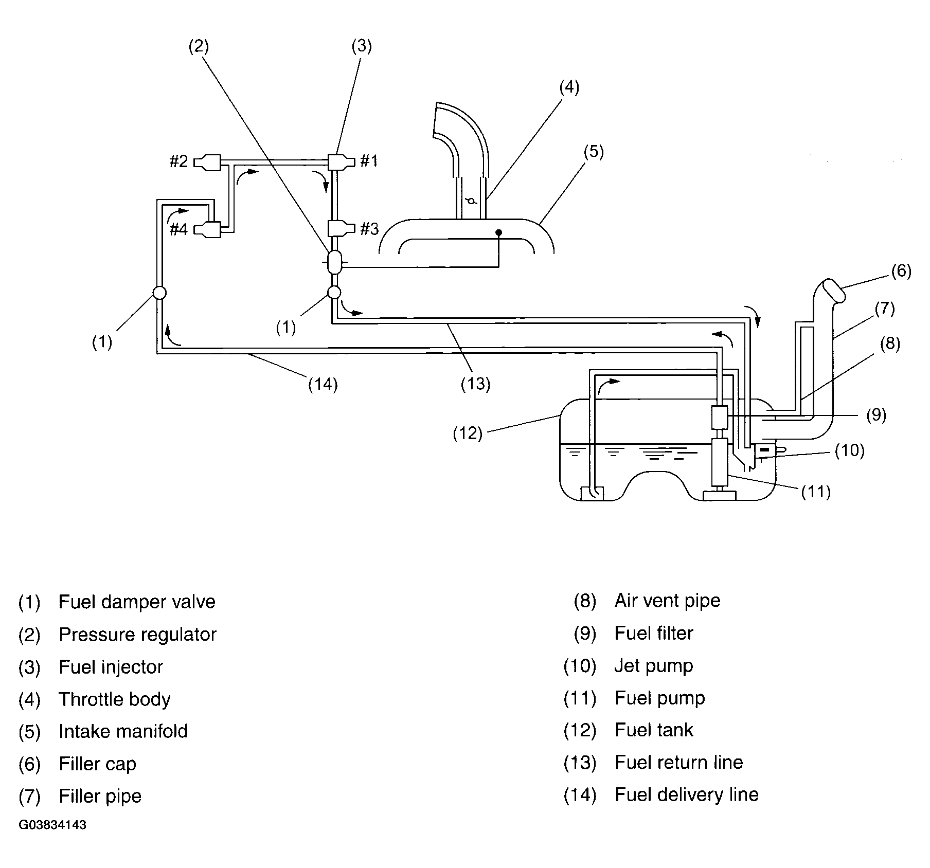
Fuel System: General

Fig 1: Fuel System Line Diagram
G03834143Courtesy of SUBARU OF AMERICA, INC.