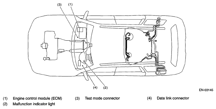
Engine Controls - Engine (Diagnostics) (H4SO): Electrical Component Location: Location: Engine
- Control module
Courtesy of SUBARU OF AMERICA, INC.
Courtesy of SUBARU OF AMERICA, INC.
- Sensor
Courtesy of SUBARU OF AMERICA, INC.
Courtesy of SUBARU OF AMERICA, INC.
Courtesy of SUBARU OF AMERICA, INC.
Courtesy of SUBARU OF AMERICA, INC.
Courtesy of SUBARU OF AMERICA, INC.
- Solenoid valve, actuator, emission control system parts and ignition system parts
Courtesy of SUBARU OF AMERICA, INC.
Courtesy of SUBARU OF AMERICA, INC.
Courtesy of SUBARU OF AMERICA, INC.
Courtesy of SUBARU OF AMERICA, INC.
Courtesy of SUBARU OF AMERICA, INC.
Courtesy of SUBARU OF AMERICA, INC.