lemon-mirror:
Home >> Subaru >> 2008 >> Outback Base, Automatic >> Repair and Diagnosis >> Steering >> Power Steering >> Power Steering System >> Pipe Assembly >> Removal

Pipe Assembly: Removal

  1. Disconnect the ground cable from the battery.
  2. Lift-up the vehicle, and then remove the front crossmember support plate and jack-up plate.
    • Large type
      Fig 1: Identifying Front Crossmember Support Plate
      G05343594Courtesy of SUBARU OF AMERICA, INC.
    • Small type
      Fig 2: Identifying Front Crossmember Support Plate And Jack-Up Plate
      G05343595Courtesy of SUBARU OF AMERICA, INC.
  3. Remove the one pipe joint at the center of the gearbox, and connect the vinyl hose to the pipe and the joint. Discharge the fluid by turning the steering wheel fully clockwise and counterclockwise. Discharge the fluid similarly from other pipes.
    Fig 3: Identifying Pipe A And Pipe B
    G05343596Courtesy of SUBARU OF AMERICA, INC.
  4. Remove the clamp E from return hose and pressure hose.
    Fig 4: Identifying Return Hose, Pressure Hose And Pipe E
    G05343597Courtesy of SUBARU OF AMERICA, INC.
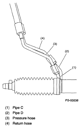
  5. Disconnect the pipe D from return hose and pipe C from pressure hose.
    Fig 5: Identifying Return Hose, Pressure Hose And Pipe C And Pipe D
    G05343598Courtesy of SUBARU OF AMERICA, INC.
  6. Remove the air intake duct. <Ref. to REMOVAL , Air Intake Duct (H4DOTC).> <Ref. to REMOVAL , Air Intake Duct (H4SO).>
  7. Disconnect the suction hose and pressure hose from oil pump.
    Fig 6: Identifying Suction Hose And Pressure Hose
    G05343599Courtesy of SUBARU OF AMERICA, INC.
  8. Disconnect the suction hose and return hose from the reservoir tank.
    Fig 7: Identifying Reservoir Tank, Suction Hose And Return Hose
    G05343600Courtesy of SUBARU OF AMERICA, INC.
  9. Remove the hose bracket and take out the hose assembly from vehicle.
    Fig 8: Identifying Hose Bracket And Hose Assembly
    G05343601Courtesy of SUBARU OF AMERICA, INC.