lemon-mirror:
Home >> Subaru >> 2008 >> Outback Base, Automatic >> Repair and Diagnosis >> Steering >> Power Steering >> Power Steering System >> Steering Gearbox >> Assembly >> Control Valve Assembly

Control Valve Assembly

Specified steering grease: 

VALIANT GREASE M2 (Part No. 003608001) 

  1. Clean all parts and tools before reassembling.
  2. Apply a coat of specified power steering fluid to the inner wall of valve housing.
    Fig 1: Identifying Applying Area Power Steering Fluid To Inner Wall Of Valve Housing
    G05343572Courtesy of SUBARU OF AMERICA, INC.
  3. To avoid scratching the oil seal, apply a coat of grease to the contact surface of installer and oil seal.
  4. Verify the direction of oil seal. Install the oil seal to installer and position it to valve housing.
  5. Press the oil seal into position using press.

    ST 34199AG090 INSTALLER & REMOVER

    Fig 2: Oil Seal Installing Position
    G05032958Courtesy of SUBARU OF AMERICA, INC.
  6. Install the bearing to ST and position it to housing. Using the ST and a press, install the special bearing in valve housing.

    ST 34199AG090 INSTALLER & REMOVER

    Fig 3: Installing Special Bearing In Valve Housing
    G05343574Courtesy of SUBARU OF AMERICA, INC.
  7. Apply vinyl tape to the groove of pinion.
  8. Install the back-up ring and oil seal to pinion, and then remove the vinyl tape.
    Fig 4: Identifying Oil Seal, Pinion Vinyl Tape And Back-Up Ring
    G05343575Courtesy of SUBARU OF AMERICA, INC.
  9. Attach the ST to pinion, and install the seal ring.

    ST 34199AG020 GUIDE

    Fig 5: Identifying ST And Seal Ring
    G05343576Courtesy of SUBARU OF AMERICA, INC.
  10. Remove the ST GUIDE, and form the seal ring properly using ST FORMER.

    ST 34199AG070 FORMER

    Fig 6: Identifying ST Guide And Seal Ring
    G05343577Courtesy of SUBARU OF AMERICA, INC.
  11. Put vinyl tape around pinion shaft spline to protect oil seal from damage.
  12. Install the valve to pinion, and install the snap ring.
    Fig 7: Identifying Snap Ring And Valve
    G05343578Courtesy of SUBARU OF AMERICA, INC.
  13. Attach the pinion and valve assembly into the valve housing.
    Fig 8: Identifying Pinion And Valve Assembly And Valve Housing
    G05343579Courtesy of SUBARU OF AMERICA, INC.
  14. Using a press, push the outer race of bearing and press-fit the pinion & valve assembly into housing.
    Fig 9: Pushing Outer Race Of Bearing And Press-Fit Pinion And Valve Assembly Into Housing
    G05343580Courtesy of SUBARU OF AMERICA, INC.
  15. Apply the specified grease to dust cover.
  16. Install the dust cover on valve assembly.
    CAUTION: Be sure to install the dust cover to groove of shaft.
    Fig 10: Installing Dust Cover On Valve Assembly
    G05343581Courtesy of SUBARU OF AMERICA, INC.
  17. Apply the genuine grease to the pinion gear and bearing of valve assembly.
    Fig 11: Identifying Grease Applying Area Of Pinion Gear And Bearing Of Valve Assembly
    G05032945Courtesy of SUBARU OF AMERICA, INC.
  18. Install new O-ring to valve assembly.
    Fig 12: Identifying O-Ring
    G05343583Courtesy of SUBARU OF AMERICA, INC.
  19. Insert the valve assembly into place while facing the rack teeth toward pinion.
    Fig 13: Inserting Valve Assembly Into Rack Teeth Toward Pinion
    G05032927Courtesy of SUBARU OF AMERICA, INC.
  20. Tighten the bolts alternately to secure the valve assembly.

    Tightening torque: 

    20 N.m (2.0 kgf-m, 14.8 ft-lb) 

    CAUTION: Be sure to alternately tighten the bolts.
  21. Apply liquid gasket to 1/3 or more of entire perimeter of adjusting screw thread.

    Liquid gasket: 

    THREE BOND 1141 (Part No. 004403006) 

  22. Apply a coat of grease to the sliding surface of sleeve and seating surface of spring, and then insert the sleeve into steering body.

    Charge the adjusting screw with grease, and then insert the spring into adjusting screw. Then install on the steering body.

    Fig 14: Identifying Applying Grease Area Of Sleeve, Spring And Adjusting Screw
    G05343585Courtesy of SUBARU OF AMERICA, INC.
  23. Tighten the adjusting screw to the specified torque, then loosen it.

    Tightening torque: 

    25 N.m (2.5 kgf-m, 18.1 ft-lb) 

  24. Tighten the adjusting screw to the specified torque, then loosen it 20°.

    Tightening torque: 

    3.9 N.m (0.4 kgf-m, 2.9 ft-lb) 

  25. Adjust the turning resistance of gearbox so that it is within specification using adjusting screw. <Ref. to TURNING RESISTANCE OF GEARBOX , INSPECTION, Steering Gearbox.>
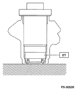
  26. Apply liquid gasket to lock nut and install it into adjusting screw. While holding the adjusting screw with wrench, tighten the lock nut using ST.

    Liquid gasket: 

    THREE BOND 1141 

    ST 926230000 SPANNER

    Tightening torque (lock nut): 

    25 N.m (2.5 kgf-m, 18.1 ft-lb) 

    NOTE: Hold the adjusting screw with a wrench to prevent it from turning while tightening lock nut.
  27. Remove the gearbox from ST.

    ST1 926200000 STAND

    ST2 34199AG000 BOSS D

  28. Install the four pipes on gearbox.
    1. Connect the pipes A and B to gearbox.

      Tightening torque: 

      Refer to the component parts. <Ref. to  POWER ASSISTED SYSTEM  , COMPONENT, General Description.> 

    2. Connect the pipes C and D to gearbox.

      Tightening torque: 

      Pipe C: 37 N.m (3.8 kgf-m, 27.3 ft-lb) 

      Pipe D: 29 N.m (3.0 kgf-m, 21.4 ft-lb) 

      Fig 15: Identifying Pipes C And D
      G05343586Courtesy of SUBARU OF AMERICA, INC.