lemon-mirror:
Home >> Subaru >> 2008 >> Outback Base, Automatic >> Repair and Diagnosis >> Steering >> Power Steering >> Power Steering System >> Universal Joint >> Installation

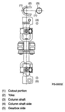
Universal Joint: Installation

  1. Align the cutout portion at serrated section of the column shaft and yoke, then install the universal joint into column shaft.
    Fig 1: Sectional View Of Column Shaft And Yoke
    G05343504Courtesy of SUBARU OF AMERICA, INC.
  2. Install the universal joint to the serrations of gearbox assembly by matching alignment marks.
  3. Tighten the bolt.

    Tightening torque: 24 N.m (2.4 kgf-m, 17.4 ft-lb) 

    CAUTION: Excessively large tightening torque of universal joint bolts may lead to heavy steering wheel operation.
  4. Align the center position of the roll connector. <Ref. to ADJUSTMENT , Roll Connector.>
  5. Install the steering wheel. <Ref. to INSTALLATION , Steering Wheel.>