lemon-mirror:
Home >> Subaru >> 2008 >> Outback Base, Automatic >> Repair and Diagnosis >> Suspension >> Wheel Alignment >> Front Suspension System >> General Description >> Specification

Front Suspension System: General Description: Specification

FRONT SUSPENSION SPECIFICATION

  Model Sedan Wagon
2.5 i 2.5 GT 2.5 GT spec. B, 3.0R 2.5 i 2.5 GT OUTBACK
Front Wheel arch height
(Tolerance: +12 mm -24 mm
(+0.47 in -0.94 in))
mm (in) 381 (15.0) 381 (15.0) 439 (17.3)
Camber (Tolerance: ±0°45' Differences between RH and LH: 45' or less) -0°15' -0°15' 0°40'
Caster (Referential Value) 5°55' 5°40' 4°55'
Steering angle
(Tolerance: ±1.5°)
Inner wheel 37.6° 33.8° 37.6°
Outer wheel 33.0° 30.2° 33.0°
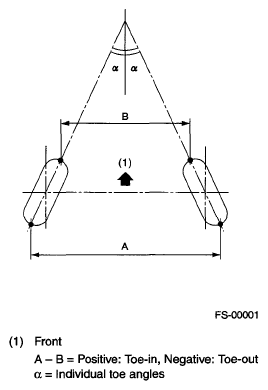
Toe-in mm (in) 0±3 (0±0.12) Toe angle (sum of both wheels): 0°±0°15'
Kingpin angle (Referential Value) 13°45' 12°05' 13°45' 12°05'
Rear Wheel arch height
(Tolerance: +12 mm -24 mm
(+0.47 in -0.94 in))
mm (in) 365 (14.4) 375 (14.8) 438 (17.2)
Camber (Tolerance: ±0°45' Differences between RH and LH: 45' or less) -0°40' -0°30' -0°10'
Toe-in mm (in) (2) (1)
Thrust angle (Tolerance: ±0°30')
(1) OUTBACK model: -3 - 0 mm (-0.12 - 0 in.) Toe angle (sum of both wheels):- 0°15' - 0°
(2) Except for OUTBACK model: 0±3mm (0±0.12in.) Toe angle (sum of both wheels): 0°±0°15'
NOTE:
  • Front and rear toe-in and front camber can be adjusted. Adjust if the toe-in or camber tolerance exceeds specifications.
  • Other items indicated in the specifications table cannot be adjusted. If other items exceed specifications, check the suspension parts and connections for deformation, and replace with new parts as required.
    Fig 1: Identifying Toe-In
    G05342806Courtesy of SUBARU OF AMERICA, INC.