lemon-mirror:
Home >> Subaru >> 2008 >> Outback Base, Automatic >> Repair and Diagnosis >> Transmission >> Automatic Trans >> Automatic Transmission (4AT) >> AT Main Case >> Installation

AT Main Case: Installation

  1. Install the low & reverse brake piston.
    NOTE:
    • Take care not to damage the lip seal.
    • Apply ATF to the lip.
      Fig 1: Identifying Low And Reverse Brake Piston
      G05002754Courtesy of SUBARU OF AMERICA, INC.
  2. Install the return spring.
    Fig 2: Identifying Return Spring
    G05002752Courtesy of SUBARU OF AMERICA, INC.
  3. Install the spring retainer.
    Fig 3: Removing Spring Retainer
    G05002751Courtesy of SUBARU OF AMERICA, INC.
  4. Install the one-way clutch inner race.
  5. Tighten the socket head bolts evenly from the rear side of transmission case.

    Tightening torque: 

    25 N.m (2.5 kgf-m, 18.4 ft-lb) 

    Fig 4: Turning Transmission Case
    G05002750Courtesy of SUBARU OF AMERICA, INC.
  6. Place the front side of transmission body up.
  7. Install the thrust needle bearing.
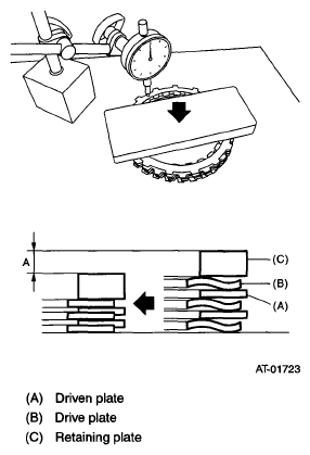
  8. Place the dish plate, driven plate, drive plate and retaining plate neatly in this order on surface table.
  9. Set the micro gauge to retaining plate, and read its scale.
    NOTE: The value, which is read in the gauge at this time, is zero point.
  10. Scale and record the weight "Z" of a flat board which will be put on retaining plate.
    NOTE:
    • Use a stiff board which does not bend against load as a flat board to be put on retaining plate.
    • Use a flat board weighing less than 8.5 kgf (18.7 lb).
  11. Put the flat board on retaining plate.
    Fig 5: Identifying Flat Board On Retaining Plate
    G05002759Courtesy of SUBARU OF AMERICA, INC.
  12. Using the following formula, read the push/pull gauge, and calculate "N".

    N = 83 N (8.5 kgf, 18.7 lb) - Z

    N: Value indicated on push/pull gauge

    83 N (8.5 kgf, 18.7 lb): Load applied to clutch plate

    Z: Flat board weight

  13. Press the center of retaining plate by applying a force of N using push/pull gauge, and then measure and record the height A. Measure at three or more locations spaced by equal distances and take the average value.
    NOTE: If measuring in three locations, measure every 120°.
    If measuring in four locations, measure every 90°.
    Fig 6: Pressing Center Of Retaining Plate
    G05668532Courtesy of SUBARU OF AMERICA, INC.
  14. Installation of the low & reverse brake: Install the dish plate, driven plate, drive plate and retaining plate, and then secure them with a snap ring.
    NOTE: Pay attention to the orientation of the dish plate.
    Fig 7: Identifying Snap Ring
    G05668533Courtesy of SUBARU OF AMERICA, INC.
  15. Apply compressed air intermittently to check for operation.
    Fig 8: Applying Compressed Air
    G05002753Courtesy of SUBARU OF AMERICA, INC.
  16. Place same thickness shims on both sides to prevent plate from tilting, then measure and record the clearance B.
    NOTE: Do not push in the shim down with force to a point where the waves on the drive plate will be crushed.
    Fig 9: Identifying Thickness Shims On Prevent Plate
    G05002763Courtesy of SUBARU OF AMERICA, INC.
  17. Piston stroke calculation

    Calculate with A and B dimensions recorded before. If the calculated value exceeds the service limit, replace the drive plate with a new part and adjust it within the initial specification.

    T = A + B

    T: Piston stroke

    A: Amount of drive plate compression

    B: Clearance between retaining plate and snap ring

    Initial standard: 

    2.15 - 2.65 mm (0.085 - 0.104 in) 

    Limit thickness: 

    2.95 mm (0.116 in) 

    THICKNESS CHART

    Retaining plate
    Part number Thickness mm (in)
    31667AA420 3.8 (0.150)
    31667AA320 4.1 (0.161)
    31667AA330 4.4 (0.173)
    31667AA340 4.7 (0.185)
    31667AA350 5.0 (0.197)
    31667AA360 5.3 (0.209)
    31667AA370 5.6 (0.220)
    31667AA380 5.9 (0.232)
  18. Install the leaf spring of the low & reverse brake.
    Fig 10: Identifying Leaf Spring
    G05668536Courtesy of SUBARU OF AMERICA, INC.
  19. Install the 2-4 brake piston and 2-4 brake retainer by aligning the hole of the 2-4 brake retainer with the hole on the transmission case.
    Fig 11: Identifying 2-4 Brake Piston And 2-4 Brake Retainer
    G05668537Courtesy of SUBARU OF AMERICA, INC.
  20. Install the 2-4 brake piston spring retainer to the transmission case.
    Fig 12: Installing 2-4 Brake Spring Retainer
    G05002745Courtesy of SUBARU OF AMERICA, INC.
  21. Position the snap ring in the transmission. Using ST, press the snap ring into the specified location.

    ST 498677100 COMPRESSOR

    Fig 13: Identifying Snap Ring In Transmission
    G05002767Courtesy of SUBARU OF AMERICA, INC.
  22. Install the planetary gear and low clutch assembly to the transmission case.
    CAUTION: When installing while rotating the low clutch and planetary gear assembly, rotate slowly and be careful not to damage the seal ring.
    Fig 14: Installing Thrust Needle Bearing, Planetary Gear Assembly And Low Clutch Assembly
    G05002742Courtesy of SUBARU OF AMERICA, INC.
  23. Place the dish plate, driven plate, drive plate and retaining plate neatly in this order on surface table.
  24. Set the micro gauge to retaining plate, and read its scale.
    NOTE: The value, which is read in the gauge at this time, is zero point.
  25. Scale and record the weight "Z" of a flat board which will be put on retaining plate.
    NOTE:
    • Use a stiff board which does not bend against load as a flat board to be put on retaining plate.
    • Use a flat board weighing less than 10.2 kgf (22.5 lb).
  26. Put the flat board on retaining plate.
    Fig 15: Identifying Flat Board On Retaining Plate
    G05002759Courtesy of SUBARU OF AMERICA, INC.
  27. Using the following formula, read the push/pull gauge, and calculate "N".

    N = 100 N (10.2 kgf, 22.5 lb) - Z

    N: Value indicated on push/pull gauge

    100 N (10.2 kgf, 22.5 lb) : Load applied to clutch plate

    Z: Flat board weight

  28. Press the center of retaining plate by applying a force of N using push/pull gauge, and then measure and record the height A. Measure at three or more locations spaced by equal distances and take the average value.
    NOTE: If measuring in three locations, measure every 120°. If measuring in four locations, measure every 90°.
    Fig 16: Identifying Retaining Plate, Drive Plate And Driven Plate
    G05668542Courtesy of SUBARU OF AMERICA, INC.
  29. Install the pressure plate, drive plate, driven plate, retaining plate and snap ring.
    Fig 17: Identifying Retaining Plate, Drive Plate And Driven Plate
    G05002741Courtesy of SUBARU OF AMERICA, INC.
  30. Install a new 2-4 brake oil seal to the transmission case.
    Fig 18: Identifying 2-4 Brake Seal
    G05002776Courtesy of SUBARU OF AMERICA, INC.
  31. After all 2-4 brake component parts have been installed, blow in air intermittently and confirm the operation of the brake.
    Fig 19: Applying Air On 2-4 Brake Component Parts
    G05002771Courtesy of SUBARU OF AMERICA, INC.
  32. Measure the clearance B between the retaining plate and snap ring.
    Fig 20: Measuring Clearance B Between Retaining Plate And Snap Ring
    G05002778Courtesy of SUBARU OF AMERICA, INC.
  33. Piston stroke calculation Calculate with A and B dimensions recorded before. If the calculated value exceeds the service limit, replace the drive plate with a new part and adjust it within the initial specification.

    T = A + B

    T: Piston stroke

    A: Amount of drive plate compression

    B: Clearance between retaining plate and snap ring

    Initial standard: 

    1.7 - 2.1 mm (0.067 - 0.083 in) 

    Limit thickness: 2.3 mm (0.091 in) 

    THICKNESS CHART

    Retaining plate
    Part number Thickness mm (in)
    31567AA991 5.6 (0.220)
    31567AB001 5.8 (0.228)
    31567AB011 6.0 (0.236)
    31567AB021 6.2 (0.244)
    31567AB031 6.4 (0.252)
    31567AB041 6.6 (0.260)
  34. Be careful not to mistake the location of the leaf spring to be installed.
    Fig 21: Identifying Leaf Spring And Retaining Plate
    G05668547Courtesy of SUBARU OF AMERICA, INC.
  35. Install the thrust needle bearing in the correct direction.
    Fig 22: Identifying Thrust Needle Bearing And Snap Ring
    G05668548Courtesy of SUBARU OF AMERICA, INC.
  36. Install the front sun gear and the thrust needle bearing.
    Fig 23: Identifying Front Sun Gear And Thrust Needle Bearing
    G05668549Courtesy of SUBARU OF AMERICA, INC.
  37. Apply vaseline, and attach the thrust needle bearing to the high clutch hub, then engage the splines of the front planetary carrier correctly to install the high clutch hub.
  38. Install the thrust needle bearing in the correct direction.
    Fig 24: Identifying Thrust Needle Bearing To High Clutch Hub
    G05668550Courtesy of SUBARU OF AMERICA, INC.
  39. Install the high clutch and reverse clutch assembly.
    Fig 25: Identifying High Clutch And Reverse Clutch Assembly
    G05668551Courtesy of SUBARU OF AMERICA, INC.
  40. Adjust the total end play. < Ref. to ADJUSTMENT , Oil Pump Housing. >
  41. Install the thrust needle bearing in the correct direction.
    Fig 26: Identifying Thrust Needle Bearing
    G05668552Courtesy of SUBARU OF AMERICA, INC.
  42. Install a new gasket along with the oil pump housing assembly. < Ref. to INSTALLATION , Oil Pump Housing. >
  43. Install the converter case to the transmission case assembly. < Ref. to INSTALLATION , Converter Case. >
  44. Insert the inhibitor switch and transmission harness connector to the stay.
  45. Install the air breather hose. < Ref. to INSTALLATION , Air Breather Hose. >
    Fig 27: Identifying Air Breather Hose
    G05668553Courtesy of SUBARU OF AMERICA, INC.
  46. Install the ATF cooler pipe. < Ref. to INSTALLATION , ATF Cooler Pipe and Hose. >
  47. Install the oil charge pipe together with an O-ring. < Ref. to INSTALLATION , Oil Charge Pipe. >
  48. Insert the input shaft while rotating it lightly by hand, and then check the amount of protrusion.

    Normal protrusion A: 

    50 - 55 mm (1.97 - 2.17 in) 

    Fig 28: Identifying Input Shaft
    G04990427Courtesy of SUBARU OF AMERICA, INC.
  49. Install the torque converter assembly. < Ref. to INSTALLATION , Torque Converter Assembly. >
  50. Install the transmission assembly to the vehicle. < Ref. to INSTALLATION , Automatic Transmission Assembly. >