lemon-mirror:
Home >> Subaru >> 2008 >> Tribeca Base >> Repair and Diagnosis >> Body & Frame >> Windows >> Glass/Windows/Mirrors >> Scalp Cap >> Replacement

Scalp Cap: Replacement

CAUTION: Do not remove caps such as scalp cap forcibly. The lower hooks may be damaged.
  1. Remove the outer mirror. < Ref. to REPLACEMENT , Outer Mirror.>
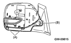
  2. Disengage the claws (A) from inside of the outer mirror, and remove the scalp cap.
    Fig 1: Identifying Scalp Cap Claws
    G05672009Courtesy of SUBARU OF AMERICA, INC.
  3. Disengage the claws (A) and (B) from inside of the outer mirror, and remove the mirror body cover.
    Fig 2: Identifying Claws
    G05672010Courtesy of SUBARU OF AMERICA, INC.
    CAUTION: Claw (B) cannot be disengaged from the inside of the outer mirror. When removing, be careful not to damage the parts.
  4. Install the scalp cap and mirror body cover clips (A) securely.