lemon-mirror:
Home >> Subaru >> 2008 >> Tribeca Base >> Repair and Diagnosis >> Body & Frame >> Windows >> Glass/Windows/Mirrors >> Windshield Glass >> Installation

Windshield Glass: Installation

  1. Clean the external circumference of windshield glass with alcohol or white gasoline.
  2. Remove the adhesive layer on the body using cutter knife to obtain smooth face of 2 mm (0.08 in) thick.
    CAUTION: Be careful not to damage the body and paint surface.
    Fig 1: Identifying Dam Rubber And Glass
    G05672031Courtesy of SUBARU OF AMERICA, INC.
  3. Clean the body with alcohol or white gasoline to eliminate cutting powder, dust and dirt completely from body.
  4. Attach the dam rubber to the backside of the glass.
  5. Attach the spacer to the lower end of the glass on passenger's side only
    Fig 2: Identifying Dam Rubber And Spacer
    G05672032Courtesy of SUBARU OF AMERICA, INC.
  6. Attach the molding to glass.
    Fig 3: Attaching Molding To Glass
    G05663611Courtesy of SUBARU OF AMERICA, INC.
    1. Align the molding (A) to both the upper edge ends of window shield glass (C).
    2. Install the molding from upper corners towards center.
    3. Install the molding from upper corners downward.
    4. Apply the double-sided tape (B) uniformly on the side section of glass.
    5. Attach the seal A (3) to the backside of the molding.
      Fig 4: Attaching Seal To Backside Of Molding
      G05672034Courtesy of SUBARU OF AMERICA, INC.
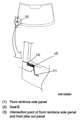
  7. Apply the seal B (2) to terminal section of front reinforce side panel (1) and the intersection point (3) of front reinforce side panel and front pillar out panel.
    Fig 5: Applying Seal To Terminal Section Of Front Reinforce Side Panel
    G05672035Courtesy of SUBARU OF AMERICA, INC.
  8. Apply two types of primers to the adhesive layer of glass using sponge.

    Glass primer: 

    Dow Automotive 

    ESSEX U-401, U-402 

  9. Apply the primer to the adhesive layer of body.

    Painted surface primer: 

    Dow Automotive 

    ESSEX U-413 

    NOTE:
    • Primer once attached to the painted surface of the body and internal trim is hard to wipe off. Mask the circumference of such area.
    • Let primer dry for about ten minutes before installing the glass.
    • Do not touch the surface coated with primer.
      Fig 6: Identifying Adhesive Layer Of Body
      G05672036Courtesy of SUBARU OF AMERICA, INC.
  10. Cut off the cartridge nozzle tip as shown and set it in sealant gun.
    Fig 7: Identifying Cartridge Nozzle Tip
    G05672037Courtesy of SUBARU OF AMERICA, INC.
  11. Apply adhesive to the glass end surface as shown.

    Adhesive: 

    Dow Automotive 

    ESSEX U-400HV or equivalent 

    Fig 8: Identifying Glass End Surface
    G05672038Courtesy of SUBARU OF AMERICA, INC.
  12. Fit the locating pins, and install windshield glass using suction rubber cup.
    Fig 9: Installing Windshield Glass Using Suction Rubber Cup
    G05004266Courtesy of SUBARU OF AMERICA, INC.
  13. Lightly press the windshield glass for tight fit.
  14. Make flush the adhesive surface jutted out using spatula.
  15. After completion of all work, allow the vehicle to stand for about 24 hours.
    NOTE:
    • When door is opened/closed after glass is bonded, always lower the door glass first, and then open/close it carefully.
    • Move the vehicle slowly.
    • For minimum drying time and vehicle standing time before driving after bonding, follow instructions or instruction manual from the adhesive manufacturer.
  16. After curing of adhesive, pour the water on external surface of vehicle to check that there are no water leaks.
    NOTE: When a vehicle is returned to the user, tell him or her that the vehicle should not be subjected to heavy impact for at least three days.
  17. Install the cowl panel. < Ref. to INSTALLATION , Cowl Panel.>