lemon-mirror:
Home >> Subaru >> 2008 >> Tribeca Base >> Repair and Diagnosis >> Suspension >> Wheel Alignment >> Front Suspension System >> General Description >> Specification

Front Suspension System: General Description: Specification

GENERAL SPECIFICATION

Front Wheel arch height
(Tolerance:+12 mm-24 mm (+0.47 in-94 in ))
mm (in) 442 (17.4)
Camber (Tolerance:±0°45' Differences between RH and LH: 45' or less) 0°00'
Caster (Referential Value) 4°04'
Steering angle (Tolerance: ± 1.5°) Inner wheel 37.0°
Outer wheel 32.0°
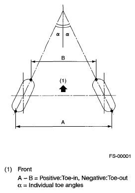
Toe-in mm (in) 0+3 (0+0.12) Toe angle (sum of both wheels): 0°±0°14'
Kingpin angle (Referential Value) 12°12'
Rear Wheel arch height
(Tolerance:+12mm-24mm (+047in-94 in ))
mm (in) 439 (17.3)
Camber (Tolerance:±0°45' Differences between RH and LH: 45' or less) -0°31'
Toe-in mm (in) 2 ± 2 (0.08±0.08) Toe angle (sum of both wheels): 0°10'±0°10'
Thrust angle (Tolerance:±0°30')
NOTE:
  • Front and rear toe-in and front camber can be adjusted. Adjust if the toe-in or camber tolerance exceeds specifications.
  • Other items indicated in the specifications table cannot be adjusted. If other items exceed specifications, check the suspension parts and connections for deformation, and replace with new parts as required.
    Fig 1: Identifying Direction Of Front And Rear Toe-In And Front Camber
    G05664339Courtesy of SUBARU OF AMERICA, INC.