lemon-mirror:
Home >> Subaru >> 2009 >> Impreza WRX STi >> Repair and Diagnosis >> Engine Performance >> Engine Control Systems >> Fuel Injection System (STI) >> General Description >> Components With Torque Specifications >> Air Intake System

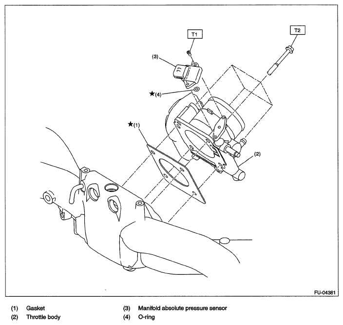
Air Intake System

Fig 1: Identifying Air Intake System Components
G06344532Courtesy of SUBARU OF AMERICA, INC.

Tightening torque: N.m (kgf-m, ft-lb) 

T1: 1.6 (0.2, 1.2) 

T2: 8 (0.8, 5.9)