lemon-mirror:
Home >> Subaru >> 2009 >> Outback Limited >> Repair and Diagnosis >> Steering >> Power Steering >> Power Steering System >> Pipe Assembly >> Removal

Pipe Assembly: Removal

  1. Disconnect the ground cable from the battery.
  2. Lift up the vehicle, and then remove the front crossmember support plate and jack-up plate.
    • Large type
      Fig 1: Identifying Front Crossmember Support Plate (Large Type)
      G06339604Courtesy of SUBARU OF AMERICA, INC.
    • Small type
      Fig 2: Identifying Front Crossmember Support Plate (Small Type)
      G06339605Courtesy of SUBARU OF AMERICA, INC.
  3. Remove the one pipe joint at the center of the gearbox, and connect the vinyl hose to the pipe and the joint. Discharge the fluid by turning the steering wheel fully clockwise and counterclockwise. Discharge the fluid similarly from other pipes.
    Fig 3: Locating Pipes A And B
    G06339606Courtesy of SUBARU OF AMERICA, INC.
  4. Remove the clamp E from return hose and pressure hose.
    Fig 4: Identifying Clamp E On Return And Pressure Hose
    G06339607Courtesy of SUBARU OF AMERICA, INC.
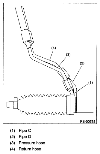
  5. Disconnect the pipe D from return hose and pipe C from pressure hose.
    Fig 5: Identifying Pipe C And D
    G06339608Courtesy of SUBARU OF AMERICA, INC.
  6. Remove the air intake duct. Refer to REMOVAL , Air Intake Duct. Refer to REMOVAL , Air Intake Duct.
  7. Disconnect the suction hose and pressure hose from oil pump.
    Fig 6: Identifying Suction And Pressure Hose
    G06339609Courtesy of SUBARU OF AMERICA, INC.
  8. Disconnect the suction hose and return hose from the reservoir tank.
    Fig 7: Identifying Suction And Return Hose Of Reservoir Tank
    G06339610Courtesy of SUBARU OF AMERICA, INC.
  9. Remove the hose bracket and take out the hose assembly from vehicle.
    Fig 8: Identifying Hose Bracket And Hose Assembly
    G06339611Courtesy of SUBARU OF AMERICA, INC.