lemon-mirror:
Home >> Subaru >> 2009 >> Outback R Limited >> Repair and Diagnosis >> Engine Performance >> Engine Control Systems >> Fuel Injection System (H6DO) >> General Description >> Components With Torque Specifications >> Fuel Pump

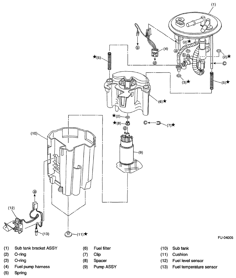
Fuel Pump

Fig 1: Fuel Pump Replacement Components With Torque Specifications
G06336031Courtesy of SUBARU OF AMERICA, INC.