lemon-mirror:
Home >> Subaru >> 2009 >> Outback R Limited >> Repair and Diagnosis >> Engine Performance >> System >> Engine Controls - Engine (Diagnostics) (H6DO) >> Electrical Component Location >> Location >> Control Module

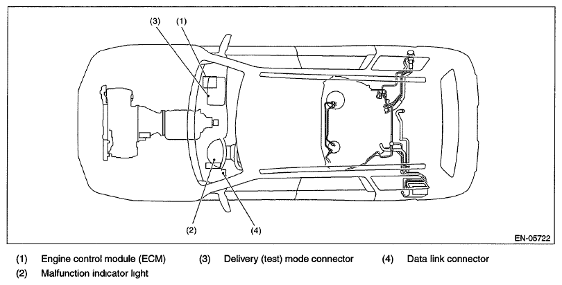
Control Module

Fig 1: Identifying Control Module Electrical Component Location (1 Of 2)
G06336643Courtesy of SUBARU OF AMERICA, INC.
Fig 2: Identifying Control Module Electrical Component Location (2 Of 2)
G05340755Courtesy of SUBARU OF AMERICA, INC.