General Information: Notices: Note: Note: Towing
Avoid towing vehicles except when the vehicle cannot be driven. For models with AWD, AT or VTD, use a loader instead of towing. When towing other vehicles, pay attention to the following to prevent hook or vehicle damage resulting from excessive weight.
- Do not tow other vehicles with a front tie-down hook.
- Make sure the vehicle towing is heavier than the vehicle being towed.
- Front
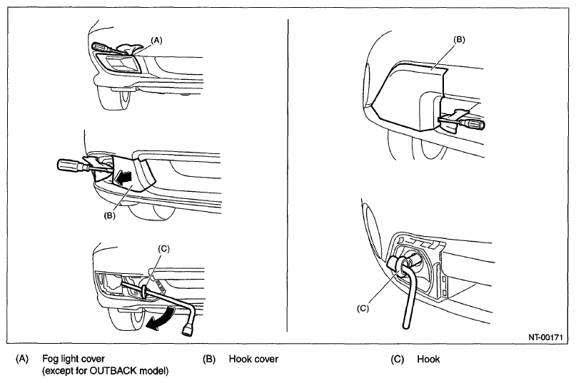
Remove the fog light cover (except for OUTBACK model) and hook cover, and then install the hook.
- Rear
- NotesPRECAUTIONS CHART
Towing Precautions MT AT Lifting up four wheels (On a trailer) Towing the vehicle after lifting up all four wheels is a basic rule for AWD model. ◦ ◦ Rope - Check if both front and rear wheels are rotated normally.
- AT model driving conditions: Driving speed of 50 km/h (31 MPH) or less
Allow driving distance 30 km (19 miles) or less◦ Raising the front wheels Prohibited for full-time AWD model. X X Lifting up the front wheels - Prohibited, due to damage on bumper, front grille, etc.
- Do not raise the vehicle with bumper.
X X Marked ◦: OK, Marked X: Prohibited, Marked : Conditionally OK.
CAUTION:
- Check ATF, gear oil and rear differential oil before driving.
- Place the shift lever in "N" position during towing.
- Do not lift up the rear wheels to avoid unsteady rotation.
- Turn the ignition key to "ACC", then check the steering wheel moves freely.
- Release the parking brake to avoid tire dragging.
- Since the power steering does not work, be careful for the heavy steering effort. (When engine is stopped)
- Since the servo brake does not work, be careful that the brake is not applied effectively. (When engine is stopped)
- In case of the malfunction of internal transmission or drive system, lift up four wheels (on a trailer) for towing.