lemon-mirror:
Home >> Subaru >> 2009 >> Tribeca Base >> Repair and Diagnosis >> Engine Performance >> Engine Control Systems >> Fuel Injection System (H6DO) >> General Description >> Components With Torque Specifications >> Fuel Pump

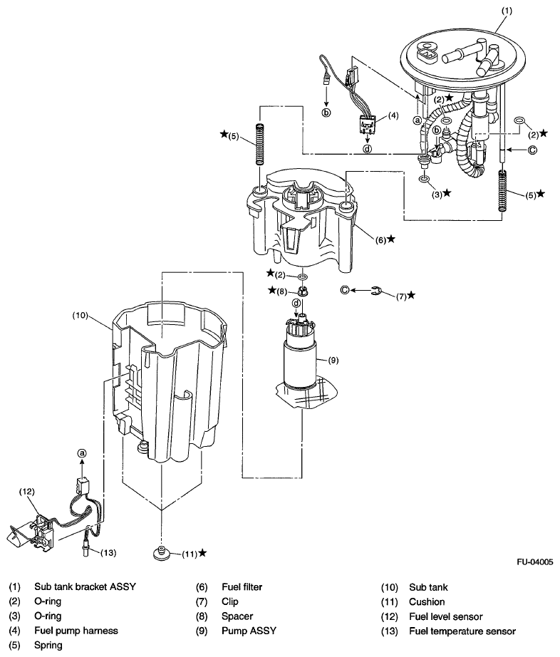
Fuel Pump

Fig 1: Identifying Fuel Pump Components
G06341819Courtesy of SUBARU OF AMERICA, INC.