lemon-mirror:
Home >> Subaru >> 2010 >> Outback Limited >> Repair and Diagnosis >> Transmission >> Automatic Trans >> Continuously Variable Transmission >> Front Differential Assembly >> Disassembly >> Side Retainer

Side Retainer

NOTE: After adjusting the drive pinion backlash and tooth contact, replace the oil seal and O-ring with new parts.
  1. Remove the O-ring.
    Fig 1: Identifying O-Ring
    G06654717Courtesy of SUBARU OF AMERICA, INC.
  2. Remove the oil seal.
    Fig 2: Identifying Oil Seal
    G06654718Courtesy of SUBARU OF AMERICA, INC.
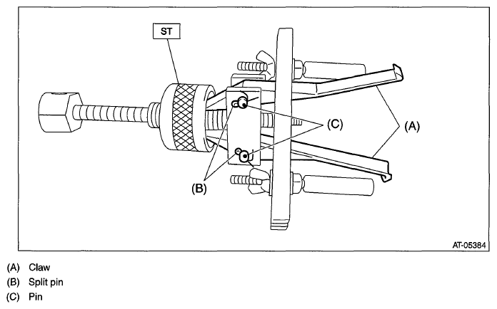
  3. Remove the split pin (ST), and then remove the claw.

    ST 398527700 PULLER ASSY

    Fig 3: Removing Split Pin
    G06654719Courtesy of SUBARU OF AMERICA, INC.
  4. Attach two claws to the outer race, and set the ST to side retainer.

    ST 398527700 PULLER ASSY

    Fig 4: Setting ST To Side Retainer
    G06654720Courtesy of SUBARU OF AMERICA, INC.
  5. Restore the removed claws to original position, and install the pin and split pin.
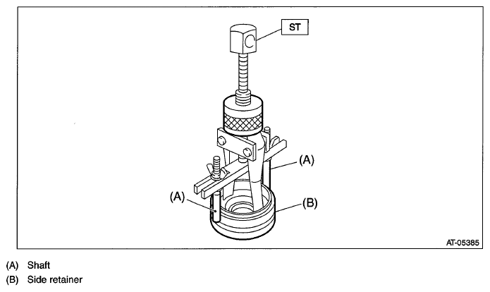
  6. Hold the shaft of ST to avoid removing from side retainer, and then remove the bearing outer race.

    ST 398527700 PULLER ASSY

    NOTE: Replace the bearing inner and outer races as a single unit.
    Fig 5: Identifying Side Retainer And Shaft
    G06654721Courtesy of SUBARU OF AMERICA, INC.